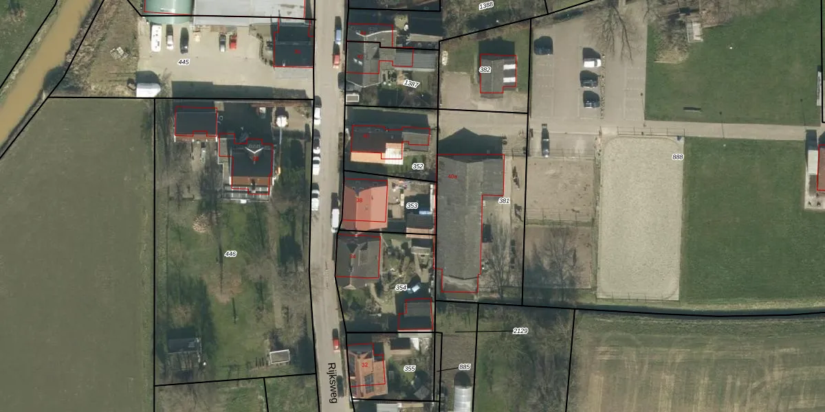
Perceel: WKD00-T-353
KadastraleKaart.com kan meer dan je denktOntdek meer ›
Filter op bestemming 50+ datasets Eigendomsdata in één klik Percelen CRM
305 m2 - 74 m
Eigenaar opvragen
WKD00-T-353 (Werkendam)
- 4255 GL
KxsCB dVPstXw90KbUpgrade naar KadastraleKaart Pro
Bekijk op Street View
Download DWG/DXF/Excel
bx8kPbh74YZF9hLfZXUpgrade naar KadastraleKaart Pro
I GDOO2I8Upgrade naar KadastraleKaart Pro
AIYuB btYrUpgrade naar KadastraleKaart Pro
6kkcxk1TkDYAkJUUpgrade naar KadastraleKaart Pro
NQctS9jDXPSniKK hGOUpgrade naar KadastraleKaart Pro
2Kp AET4JOOxlXGyUpgrade naar KadastraleKaart Pro
US KT1GzUpgrade naar KadastraleKaart Pro
YhvaZzIQO9JX deL9Upgrade naar KadastraleKaart Pro
LVJNX5EaiCknTUpgrade naar KadastraleKaart Pro
nFc5EytSHyUpgrade naar KadastraleKaart Pro
09/09/2005

Percelen
Gebruik de zoekbalk of klik op een perceel om informatie over het perceel te bekijken.