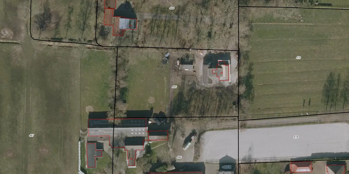
Perceel: WTG01-F-485
KadastraleKaart.com kan meer dan je denktOntdek meer ›
Filter op bestemming 50+ datasets Eigendomsdata in één klik Percelen CRM
2.777 m2 - 219 m
Eigenaar opvragen
WTG01-F-485 (Westergeest)
- 9298 WC
gs LIc7CiOK10Wm0M1ng2ITYKXJc5kUpgrade naar KadastraleKaart Pro
Verkoopprijs opvragen
Bekijk op Street View
Download DWG/DXF/Excel
lMj5dTyaeh0yRmUpgrade naar KadastraleKaart Pro
Eu05HFTrvQwyJ7hFGRN9tP Upgrade naar KadastraleKaart Pro
q maQRNlY0vB uYcGo 8R2Upgrade naar KadastraleKaart Pro
VOb mDNzKNT Jt UDdYYkAFUpgrade naar KadastraleKaart Pro
OT6Wl2GhxQ AYXJ Eztp Upgrade naar KadastraleKaart Pro
N4Vu2CoarsUpgrade naar KadastraleKaart Pro
LpHL Lhc0X9 Upgrade naar KadastraleKaart Pro
rPqDEafM9Sm xUUpgrade naar KadastraleKaart Pro
HgDiM6jL zR73Upgrade naar KadastraleKaart Pro
mh7Bd WKJA CqNWUpgrade naar KadastraleKaart Pro
29/05/2006

Percelen
Gebruik de zoekbalk of klik op een perceel om informatie over het perceel te bekijken.