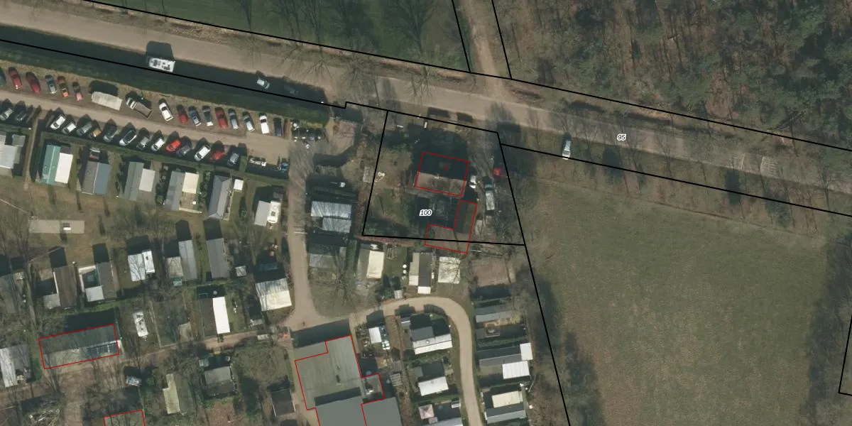
Perceel: ZLD02-L-100
KadastraleKaart.com kan meer dan je denktOntdek meer ›
Filter op bestemming 50+ datasets Eigendomsdata in één klik Percelen CRM
890 m2 - 122 m
Eigenaar opvragen
ZLD02-L-100 (Zeeland)
- 5411 RX
0PmjPJoib4kbcaO PeQDgJI4eLF6T9BUpgrade naar KadastraleKaart Pro
Bekijk op Street View
Download DWG/DXF/Excel
H VosDh5xx xzaJw TtYNdUpgrade naar KadastraleKaart Pro
3vPV 8VtwUpgrade naar KadastraleKaart Pro
ItXbiuGNqz Upgrade naar KadastraleKaart Pro
Up rxxS cPT 1BNUpgrade naar KadastraleKaart Pro
3yp996nLD dU V BI PUDUQUpgrade naar KadastraleKaart Pro
onElThMEky64 e IQ Upgrade naar KadastraleKaart Pro
GV4zPfc9lj996bDcwZKUpgrade naar KadastraleKaart Pro
l1 qh1naZTmEvMnb4Upgrade naar KadastraleKaart Pro
WsvZ 1uxBBHRCkMo40gKgccUpgrade naar KadastraleKaart Pro
2ccD88 hjCUpgrade naar KadastraleKaart Pro
30/09/2008

Percelen
Gebruik de zoekbalk of klik op een perceel om informatie over het perceel te bekijken.