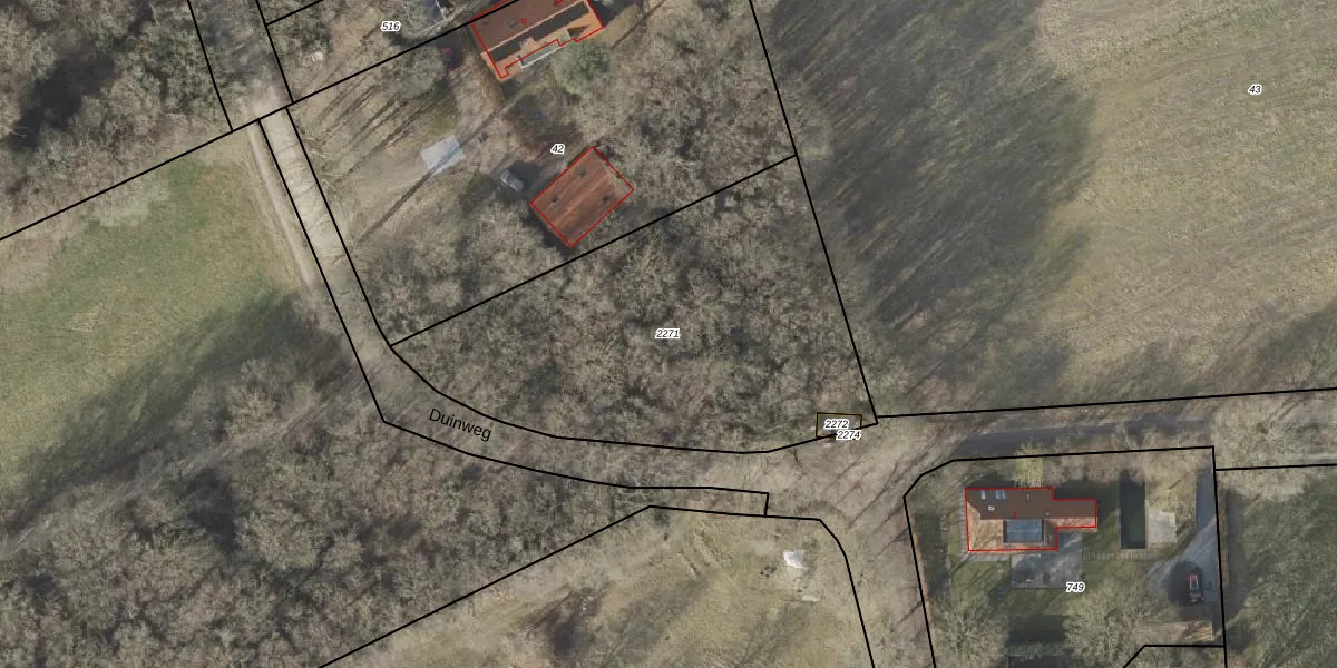
Perceel: ZLR00-K-2271
Geen adressen bij dit perceel
1.881 m2 - 195 m
Eigenaar opvragen
ZLR00-K-2271 (Zuidlaren)
- Geen postcode aanwezig
uf trkP9TdhZGtSM9Upgrade naar KadastraleKaart Pro
Bekijk op Street View
Download DWG/DXF/Excel
7CD 8aEx3WNQCVXYhx75Upgrade naar KadastraleKaart Pro
hXaFZX 0gyoGSbBN3y2Upgrade naar KadastraleKaart Pro
qjR4OZUJDHUpgrade naar KadastraleKaart Pro
eBAgwS4OYvT N Upgrade naar KadastraleKaart Pro
eEib hQU8O1B3LREHPfTUpgrade naar KadastraleKaart Pro
jaKXcIJp SV41bT j2gRLSUpgrade naar KadastraleKaart Pro
6ud1qPyLaEghlgPUpgrade naar KadastraleKaart Pro
Gsa K6lhPwUJed9GK0HVGZdUpgrade naar KadastraleKaart Pro
xvOwyo4e2BxkUpgrade naar KadastraleKaart Pro
aF9 UFlyPBd T 4ygHUpgrade naar KadastraleKaart Pro
11/12/2024

Percelen
Gebruik de zoekbalk of klik op een perceel om informatie over het perceel te bekijken.