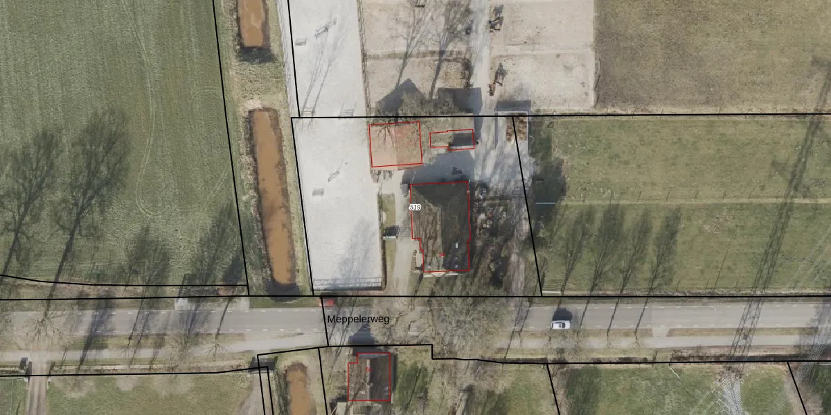
Perceel: ZWD02-Q-519
KadastraleKaart.com kan meer dan je denktOntdek meer ›
Filter op bestemming 50+ datasets Eigendomsdata in één klik Percelen CRM
2.342 m2 - 196 m
Eigenaar opvragen
ZWD02-Q-519 (Zuidwolde)
- 7921 VR
k NryvafSPM4ezUOXp3YL3M6qnUd Upgrade naar KadastraleKaart Pro
Bekijk op Street View
Download DWG/DXF/Excel
0FcogMzDOVnUpgrade naar KadastraleKaart Pro
sw3SjH E9HYwN4Upgrade naar KadastraleKaart Pro
W H3lrrssB2ybUE qFelJUpgrade naar KadastraleKaart Pro
G ZAjYY4IRLy gUpgrade naar KadastraleKaart Pro
Pk3t 2X7vAKXNQ1hzIE5 Upgrade naar KadastraleKaart Pro
DTDLtKfvg8L8 CUpgrade naar KadastraleKaart Pro
z0PUwyt 9Upgrade naar KadastraleKaart Pro
joqjtgz8 ubEonaGN6fDKsBUpgrade naar KadastraleKaart Pro
4QcdKTjbUpgrade naar KadastraleKaart Pro
9oDz0iwowJj0XY94bUpgrade naar KadastraleKaart Pro
29/06/2015

Percelen
Gebruik de zoekbalk of klik op een perceel om informatie over het perceel te bekijken.