
Korte Schermerdijk 3 is een adres in Alkmaar, dat zich bevindt binnen de gemeentegrenzen van Alkmaar en de grenzen van de provincie Noord-Holland. De oppervlakte bedraagt 198 m², waarmee het adres groter dan gemiddeld is. De grootte van het perceel waarop het adres ligt is 3310 m². In de straat is dit het adres met de grootste oppervlakte. De objecten in de straat zijn gemiddeld 143 m² groot. Het kleinste verblijfsobject heeft een oppervlakte van 120 m². In het jaar 1992 is het pand waarin Korte Schermerdijk 3 ligt gebouwd. Dat is relatief recent: de meeste gebouwen in Nederland zijn gebouwd in de periode 1965-1984. Dit is het oudste object in de straat. Het nieuwste pand komt uit 2014 en het gemiddelde bouwjaar in de straat is 2001. De volgende gebruiksdoelen zijn geregistreerd voor dit adres: 'woonfunctie'.
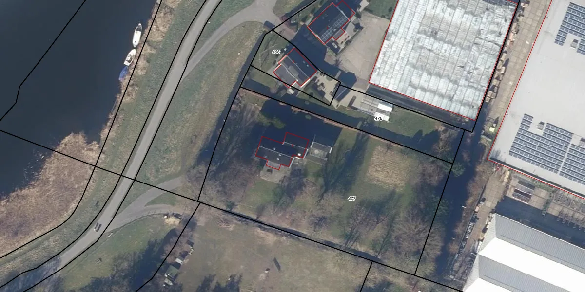
Het perceel waarop het adres ligt is ODP02-C-477. De afkorting 'ODP02' staat voor kadastrale gemeente Oudorp. De oppervlakte van het perceel is 3310 m². Dat is groter dan gemiddeld in Oudorp, waar de gemiddelde perceeloppervlakte op 842,19 m² ligt. De grootste perceeloppervlakte in de kadastrale gemeente is 14,3 ha. De kleinste oppervlakte bedraagt 0 m². Er zijn geen andere adressen aanwezig op het perceel. De huidige grenzen van het perceel zijn digitaal in de Basisregistratie Kadaster (BRK) geregistreerd op 18-02-2011.
Er is geen energielabel geregistreerd voor het adres. Het hoogste energielabel in de straat is G; het laagste is G. Het gemiddelde energielabel is er G. Het adres Korte Schermerdijk 3 heeft als status: 'verblijfsobject in gebruik'. Het pand waarin dit adres ligt heeft als status: 'pand in gebruik'.
Korte Schermerdijk 3 is een adres gelegen in de gemeente Alkmaar, provincie Noord-Holland. Dit adres is geregistreerd in de Basisregistratie Adressen en Gebouwen (BAG) met als unieke identificatie 0361010000102789.
Het pand op Korte Schermerdijk 3 is gebouwd in 1992, wat betekent dat het 34 jaar oud is. Dit is een pand van middelbare leeftijd. Het pand is van gemiddelde leeftijd en zal waarschijnlijk verouderde elementen bevatten.
De woning op Korte Schermerdijk 3 heeft een gebruiksoppervlakte van 198 m². Dit is ruim vergeleken met de gemiddelde Nederlandse woning, die een oppervlakte heeft van ongeveer 119 m². De gebruiksoppervlakte is de maat die wordt gebruikt in de BAG-registratie, de landelijke registratie van de Nederlandse overheid.
Korte Schermerdijk 3 heeft als functie: wonen. Deze gebruiksfunctie(s) zijn vastgelegd in de BAG-registratie en geven aan waarvoor het adres officieel mag worden gebruikt.
Korte Schermerdijk 3 is gelegen op kadastraal perceel ODP02C477. Deze kadastrale aanduiding is uniek en wordt gebruikt door het Kadaster om eigendomsrechten en andere zakelijke rechten vast te leggen. Het perceel maakt onderdeel uit van de kadastrale gemeente Oudorp.
Het perceel waarop Korte Schermerdijk 3 staat heeft een oppervlakte van 3310 m². Dit is een zeer groot perceel. De perceeloppervlakte wordt geregistreerd door het Kadaster. Gedetailleerde informatie over de maten van dit perceel kunt u vinden in het rapport Kadastrale kaart met maatvoering van Korte Schermerdijk 3.
De eigenaar van Korte Schermerdijk 3 is op te vragen op deze pagina.
De informatie over dit adres is afkomstig uit officiële overheidsregistraties, voornamelijk de Basisregistratie Adressen en Gebouwen (BAG) en de Basisregistratie Kadaster (BRK). Deze gegevens worden beheerd door respectievelijk gemeenten en het Kadaster, en worden regelmatig bijgewerkt. Energielabelgegevens komen uit de database van de Rijksdienst voor Ondernemend Nederland (RVO).
