
Engelanderweg 3 is gelegen in de plaats Beekbergen, de gemeente Apeldoorn en de provincie Gelderland. De oppervlakte bedraagt 203 m², waarmee het adres groter dan gemiddeld is. De grootte van het perceel waarop het adres ligt is 2195 m². In vergelijking met de andere adressen in de straat is de oppervlakte van dit object relatief groot. Het grootste verblijfsobject heeft een oppervlakte van 479 m², de oppervlakte van het kleinste object bedraagt 20 m². Engelanderweg 3 bevindt zich in een pand uit het jaar 1923. Daarmee behoort het tot de groep relatief oude panden in Nederland die gebouwd zijn vóór 1965. In de straat komt het nieuwste gebouw uit het jaar 2026 en het oudste uit 1750. Het bouwjaar van dit object is relatief oud. Voor het verblijfsobject gelden deze gebruiksdoelen: 'woonfunctie'.
Deze woning is voor het laatst verkocht op 1 augustus 2016. Meer informatie over deze transactie? Bestel het Woningtransactierapport om de verkoopprijs en andere informatie te zien.
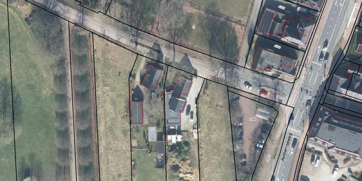
Het perceel waarop het adres ligt is BBG01-M-1729. De afkorting 'BBG01' staat voor kadastrale gemeente Beekbergen. De gemiddelde perceelgrootte in Beekbergen is 9052,26 m². Dit perceel is kleiner: de perceeloppervlakte bedraagt 2195 m². Het grootste perceel in de kadastrale gemeente is 1,65 km². Het kleinste perceel heeft een oppervlakte van 0 m². Er zijn geen andere adressen aanwezig op het perceel. De laatste wijziging in het de Basisregistratie Kadaster (BRK) was op 13-08-2007.
Het adres ligt in een gebouw van het type 'vrijstaande woning'. Bij de laatste meting is voor het adres het energielabel G geregistreerd. Het hoogste energielabel in de straat is A; het laagste is G. Het gemiddelde energielabel is er D. Het adres Engelanderweg 3 heeft als status: 'verblijfsobject in gebruik'. Het pand waarin dit adres ligt heeft als status: 'pand in gebruik'.
Engelanderweg 3 is een adres gelegen in de gemeente Apeldoorn, provincie Gelderland. Dit adres is geregistreerd in de Basisregistratie Adressen en Gebouwen (BAG) met als unieke identificatie 0200010000061569.
Het pand op Engelanderweg 3 is gebouwd in 1923, wat betekent dat het 103 jaar oud is. Dit is een ouder pand. Het pand heeft mogelijk aanzienlijke renovaties nodig om aan de huidige standaarden te voldoen.
De woning op Engelanderweg 3 heeft een gebruiksoppervlakte van 203 m². Dit is ruim vergeleken met de gemiddelde Nederlandse woning, die een oppervlakte heeft van ongeveer 119 m². De gebruiksoppervlakte is de maat die wordt gebruikt in de BAG-registratie, de landelijke registratie van de Nederlandse overheid.
Engelanderweg 3 heeft als functie: wonen. Deze gebruiksfunctie(s) zijn vastgelegd in de BAG-registratie en geven aan waarvoor het adres officieel mag worden gebruikt.
Engelanderweg 3 is gelegen op kadastraal perceel BBG01M1729. Deze kadastrale aanduiding is uniek en wordt gebruikt door het Kadaster om eigendomsrechten en andere zakelijke rechten vast te leggen. Het perceel maakt onderdeel uit van de kadastrale gemeente Beekbergen.
Het perceel waarop Engelanderweg 3 staat heeft een oppervlakte van 2195 m². Dit is een zeer groot perceel. De perceeloppervlakte wordt geregistreerd door het Kadaster. Gedetailleerde informatie over de maten van dit perceel kunt u vinden in het rapport Kadastrale kaart met maatvoering van Engelanderweg 3.
De eigenaar van Engelanderweg 3 is op te vragen op deze pagina.
De informatie over dit adres is afkomstig uit officiële overheidsregistraties, voornamelijk de Basisregistratie Adressen en Gebouwen (BAG) en de Basisregistratie Kadaster (BRK). Deze gegevens worden beheerd door respectievelijk gemeenten en het Kadaster, en worden regelmatig bijgewerkt. Energielabelgegevens komen uit de database van de Rijksdienst voor Ondernemend Nederland (RVO).
