
De Kolk 2 is gelegen in de plaats Doetinchem, de gemeente Doetinchem en de provincie Gelderland. Het verblijfsobject is vergeleken met het Nederlandse gemiddelde aan de kleine kant: de oppervlakte is 90 m². Het perceel waarop het adres zich bevindt heeft een oppervlakte van 230 m². Het adres is klein vergeleken met andere objecten in de straat. Het grootste object in de straat heeft een oppervlakte van 293 m², het kleinste is 72 m² groot. De Kolk 2 ligt in een gebouw uit het jaar 2025. Daarmee behoort het tot de groep panden van na 1984, die we als relatief nieuw bestempelen. Gemiddeld zijn de gebouwen in de straat gebouwd in 2025. Dit is het oudste pand in de straat. Het meest recente komt uit het jaar 2026. Voor het verblijfsobject gelden deze gebruiksdoelen: 'woonfunctie'.
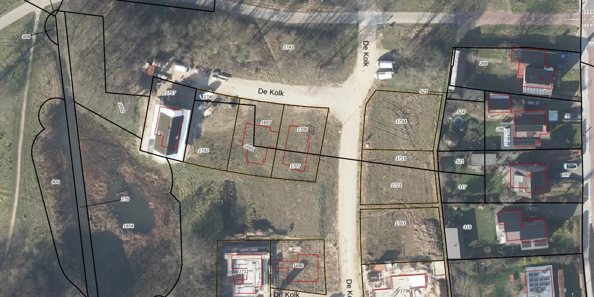
Het adres ligt op het perceel DTC01-P-1705, dat zich in de kadastrale gemeente Ambt-Doetinchem bevindt. De gemiddelde perceelgrootte in Ambt-Doetinchem is 2210,44 m². Dit perceel is kleiner: de perceeloppervlakte bedraagt 230 m². Het grootste perceel in de kadastrale gemeente is 37,0 ha. Het kleinste perceel heeft een oppervlakte van 0 m². Op het perceel bevinden zich geen andere adressen. De laatste wijziging in het de Basisregistratie Kadaster (BRK) was op 11-07-2024.
Het adres ligt in een gebouw van het type 'vrijstaande woning'. Bij de laatste meting is voor het adres het energielabel A++++ geregistreerd. Het hoogste energielabel in de straat is A++++; het laagste is G. Het gemiddelde energielabel is er A+++. Het adres De Kolk 2 heeft als status: 'verblijfsobject in gebruik'. Het pand waarin dit adres ligt heeft als status: 'pand in gebruik'.
De Kolk 2 is een adres gelegen in de gemeente Doetinchem, provincie Gelderland. Dit adres is geregistreerd in de Basisregistratie Adressen en Gebouwen (BAG) met als unieke identificatie 0222010000692485.
Het pand op De Kolk 2 is gebouwd in 2025, wat betekent dat het 1 jaar oud is. Dit is een vrij nieuw pand. Het pand is dus waarschijnlijk goed geïsoleerd, geluidsdicht en voldoet aan de huidige bouwstandaarden. Op korte termijn zijn er waarschijnlijk weinig onderhoudskosten.
De woning op De Kolk 2 heeft een gebruiksoppervlakte van 90 m². Dit is onder het gemiddelde vergeleken met de gemiddelde Nederlandse woning, die een oppervlakte heeft van ongeveer 119 m². De gebruiksoppervlakte is de maat die wordt gebruikt in de BAG-registratie, de landelijke registratie van de Nederlandse overheid.
De Kolk 2 heeft als functie: wonen. Deze gebruiksfunctie(s) zijn vastgelegd in de BAG-registratie en geven aan waarvoor het adres officieel mag worden gebruikt.
De Kolk 2 is gelegen op kadastraal perceel DTC01P1705. Deze kadastrale aanduiding is uniek en wordt gebruikt door het Kadaster om eigendomsrechten en andere zakelijke rechten vast te leggen. Het perceel maakt onderdeel uit van de kadastrale gemeente Ambt-Doetinchem.
Het perceel waarop De Kolk 2 staat heeft een oppervlakte van 230 m². Dit is een middelgroot perceel. De perceeloppervlakte wordt geregistreerd door het Kadaster. Gedetailleerde informatie over de maten van dit perceel kunt u vinden in het rapport Kadastrale kaart met maatvoering van De Kolk 2.
De eigenaar van De Kolk 2 is op te vragen op deze pagina.
De informatie over dit adres is afkomstig uit officiële overheidsregistraties, voornamelijk de Basisregistratie Adressen en Gebouwen (BAG) en de Basisregistratie Kadaster (BRK). Deze gegevens worden beheerd door respectievelijk gemeenten en het Kadaster, en worden regelmatig bijgewerkt. Energielabelgegevens komen uit de database van de Rijksdienst voor Ondernemend Nederland (RVO).
