
Het adres De Kolk 4 bevindt zich in de plaats Doetinchem, in de gemeente Doetinchem en de provincie Gelderland. Het verblijfsobject is 115 m² groot en bevindt zich op een perceel met een oppervlakte van 234 m². Gemiddeld hebben adressen in Nederland een oppervlakte van 119 m². Het adres is klein vergeleken met andere objecten in de straat. Het grootste object in de straat heeft een oppervlakte van 293 m², het kleinste is 72 m² groot. Het pand waarin De Kolk 4 ligt is gebouwd in het jaar 2026. Panden die gebouwd zijn na het jaar 1984 noemen we hier relatief nieuw. Het gemiddelde bouwjaar in de straat is 2025 en dat van het oudste pand is 2025. Dit is het nieuwste object in de straat. Het verblijfsobject heeft de volgende gebruiksdoelen: 'woonfunctie'.
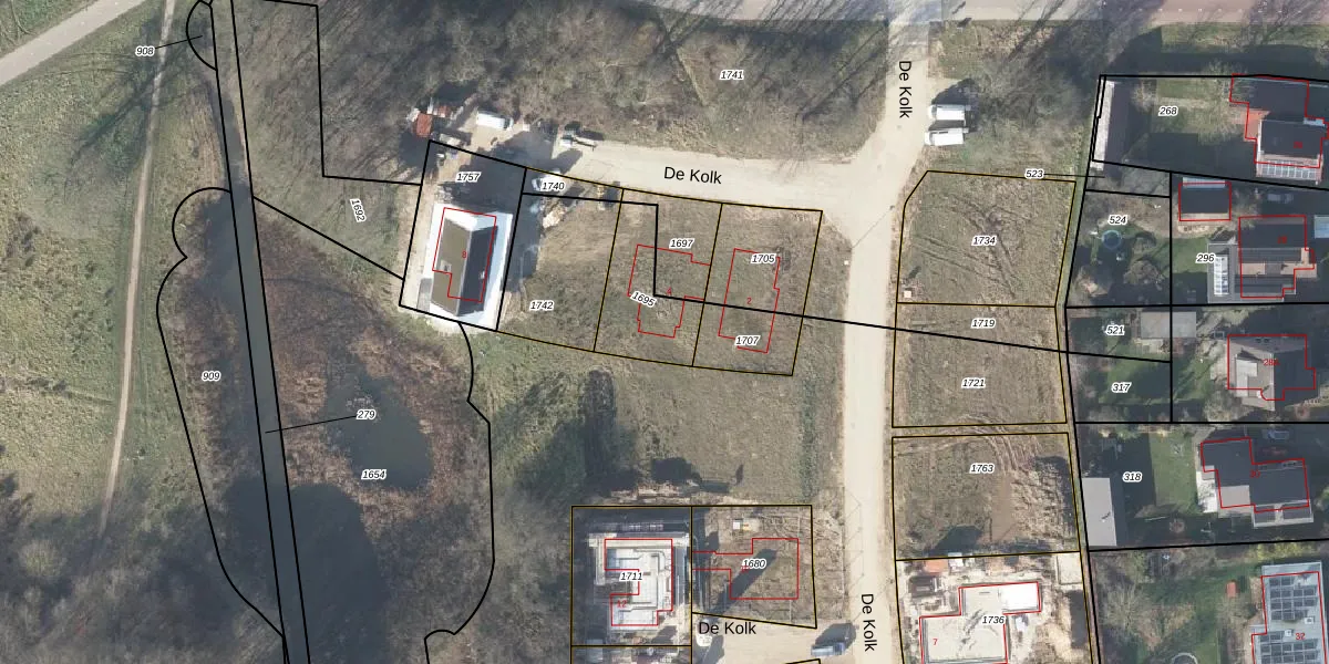
Het adres ligt op het perceel DTC01-P-1695, dat zich in de kadastrale gemeente Ambt-Doetinchem bevindt. Het perceel is kleiner dan gemiddeld in Ambt-Doetinchem. Het perceel is 234 m² groot, terwijl het gemiddelde ligt op 2210,44 m². Het kleinste perceel in de kadastrale gemeente is 0 m² groot. De grootste perceeloppervlakte is 37,0 ha. Dit is het enige adres dat aanwezig is op het perceel. In de Basisregistratie Kadaster (BRK) werden de grenzen van het perceel geregistreerd op 25-04-2025.
Er is geen energielabel geregistreerd voor het adres. Het hoogste energielabel in de straat is A++++; het laagste is G. Het gemiddelde energielabel is er A+++. Het adres De Kolk 4 heeft als status: 'verblijfsobject in gebruik'. Het pand waarin dit adres ligt heeft als status: 'pand in gebruik'.
De Kolk 4 is een adres gelegen in de gemeente Doetinchem, provincie Gelderland. Dit adres is geregistreerd in de Basisregistratie Adressen en Gebouwen (BAG) met als unieke identificatie 0222010000691044.
Het pand op De Kolk 4 is gebouwd in 2026, wat betekent dat het 0 jaar oud is. Dit is een vrij nieuw pand. Het pand is dus waarschijnlijk goed geïsoleerd, geluidsdicht en voldoet aan de huidige bouwstandaarden. Op korte termijn zijn er waarschijnlijk weinig onderhoudskosten.
De woning op De Kolk 4 heeft een gebruiksoppervlakte van 115 m². Dit is onder het gemiddelde vergeleken met de gemiddelde Nederlandse woning, die een oppervlakte heeft van ongeveer 119 m². De gebruiksoppervlakte is de maat die wordt gebruikt in de BAG-registratie, de landelijke registratie van de Nederlandse overheid.
De Kolk 4 heeft als functie: wonen. Deze gebruiksfunctie(s) zijn vastgelegd in de BAG-registratie en geven aan waarvoor het adres officieel mag worden gebruikt.
De Kolk 4 is gelegen op kadastraal perceel DTC01P1695. Deze kadastrale aanduiding is uniek en wordt gebruikt door het Kadaster om eigendomsrechten en andere zakelijke rechten vast te leggen. Het perceel maakt onderdeel uit van de kadastrale gemeente Ambt-Doetinchem.
Het perceel waarop De Kolk 4 staat heeft een oppervlakte van 234 m². Dit is een middelgroot perceel. De perceeloppervlakte wordt geregistreerd door het Kadaster. Gedetailleerde informatie over de maten van dit perceel kunt u vinden in het rapport Kadastrale kaart met maatvoering van De Kolk 4.
De eigenaar van De Kolk 4 is op te vragen op deze pagina.
De informatie over dit adres is afkomstig uit officiële overheidsregistraties, voornamelijk de Basisregistratie Adressen en Gebouwen (BAG) en de Basisregistratie Kadaster (BRK). Deze gegevens worden beheerd door respectievelijk gemeenten en het Kadaster, en worden regelmatig bijgewerkt. Energielabelgegevens komen uit de database van de Rijksdienst voor Ondernemend Nederland (RVO).
