
Het adres Stobbenweg 3 bevindt zich in de plaats Drouwen, in de gemeente Drouwen en de provincie Drenthe. Het verblijfsobject is 143 m² groot en bevindt zich op een perceel met een oppervlakte van 2115 m². Gemiddeld hebben adressen in Nederland een oppervlakte van 119 m². Er zijn geen kleinere objecten in deze straat. De gemiddelde oppervlakte is er 254 m². Het grootste verblijfsobject is 378 m². Stobbenweg 3 bevindt zich in een pand uit het jaar 1920. Daarmee behoort het tot de groep relatief oude panden in Nederland die gebouwd zijn vóór 1965. Vergeleken met de andere panden in de straat is dit gebouw nieuw. Het vroegste bouwjaar is er 1890 en het laatste is 1936. Het verblijfsobject heeft de volgende gebruiksdoelen: 'woonfunctie'.
Deze woning is voor het laatst verkocht op 1 februari 1997. Meer informatie over deze transactie? Bestel het Woningtransactierapport om de verkoopprijs en andere informatie te zien.
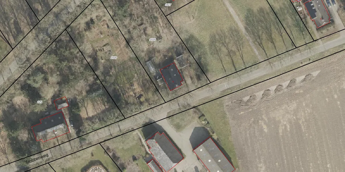
Het adres ligt op het perceel BGR01-K-1515, dat zich in de kadastrale gemeente Borger bevindt. Het perceel is kleiner dan gemiddeld in Borger. Het perceel is 2115 m² groot, terwijl het gemiddelde ligt op 1,1 ha. Het grootste perceel in de kadastrale gemeente is 5,76 km². Het kleinste perceel heeft een oppervlakte van 0 m². Dit is het enige adres dat aanwezig is op het perceel. In de Basisregistratie Kadaster (BRK) werden de grenzen van het perceel geregistreerd op 09-01-2002.
Er is geen energielabel geregistreerd voor het adres. Het hoogste energielabel in de straat is A+; het laagste is G. Het gemiddelde energielabel is er C. Het adres Stobbenweg 3 heeft als status: 'verblijfsobject in gebruik'. Het pand waarin dit adres ligt heeft als status: 'pand in gebruik'.
Stobbenweg 3 is een adres gelegen in de gemeente Borger-Odoorn, provincie Drenthe. Dit adres is geregistreerd in de Basisregistratie Adressen en Gebouwen (BAG) met als unieke identificatie 1681010000004558.
Het pand op Stobbenweg 3 is gebouwd in 1920, wat betekent dat het 106 jaar oud is. Dit is een ouder pand. Het pand heeft mogelijk aanzienlijke renovaties nodig om aan de huidige standaarden te voldoen.
De woning op Stobbenweg 3 heeft een gebruiksoppervlakte van 143 m². Dit is gemiddeld vergeleken met de gemiddelde Nederlandse woning, die een oppervlakte heeft van ongeveer 119 m². De gebruiksoppervlakte is de maat die wordt gebruikt in de BAG-registratie, de landelijke registratie van de Nederlandse overheid.
Stobbenweg 3 heeft als functie: wonen. Deze gebruiksfunctie(s) zijn vastgelegd in de BAG-registratie en geven aan waarvoor het adres officieel mag worden gebruikt.
Stobbenweg 3 is gelegen op kadastraal perceel BGR01K1515. Deze kadastrale aanduiding is uniek en wordt gebruikt door het Kadaster om eigendomsrechten en andere zakelijke rechten vast te leggen. Het perceel maakt onderdeel uit van de kadastrale gemeente Borger.
Het perceel waarop Stobbenweg 3 staat heeft een oppervlakte van 2115 m². Dit is een zeer groot perceel. De perceeloppervlakte wordt geregistreerd door het Kadaster. Gedetailleerde informatie over de maten van dit perceel kunt u vinden in het rapport Kadastrale kaart met maatvoering van Stobbenweg 3.
De eigenaar van Stobbenweg 3 is op te vragen op deze pagina.
De informatie over dit adres is afkomstig uit officiële overheidsregistraties, voornamelijk de Basisregistratie Adressen en Gebouwen (BAG) en de Basisregistratie Kadaster (BRK). Deze gegevens worden beheerd door respectievelijk gemeenten en het Kadaster, en worden regelmatig bijgewerkt. Energielabelgegevens komen uit de database van de Rijksdienst voor Ondernemend Nederland (RVO).
