
Het adres De Reulver 94-A bevindt zich in de plaats Enschede, in de gemeente Enschede en de provincie Overijssel. De oppervlakte bedraagt 234 m², waarmee het adres groter dan gemiddeld is. De grootte van het perceel waarop het adres ligt is 982 m². Het object is klein ten opzichte van de andere adressen in de straat. Het grootste verblijfsobject is 7532 m² groot en het kleinste is 9 m². De gemiddelde bouwperiode van gebouwen in Nederland ligt tussen de jaren 1965-1984. Dat geldt ook voor het bouwjaar van De Reulver 94-A: het is gebouwd in het jaar 1970. In de straat komt het nieuwste gebouw uit het jaar 2025 en het oudste uit 1967. Het bouwjaar van dit object is relatief oud. Voor het verblijfsobject gelden deze gebruiksdoelen: 'industriefunctie'.
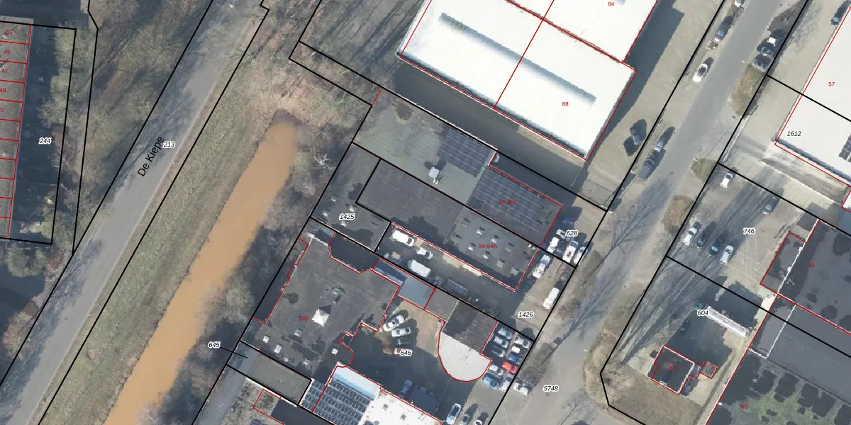
Het perceel waarop het adres ligt is LNK00-Z-1426. De afkorting 'LNK00' staat voor kadastrale gemeente Lonneker. De gemiddelde perceelgrootte in Lonneker is 2630,22 m². Dit perceel is kleiner: de perceeloppervlakte bedraagt 982 m². Het kleinste perceel in de kadastrale gemeente is 0 m² groot. De grootste perceeloppervlakte is 1,19 km². Op het perceel zijn 2 adressen aanwezig. In de Basisregistratie Kadaster (BRK) werden de grenzen van het perceel geregistreerd op 18-11-2010.
Er is geen energielabel geregistreerd voor het adres. Het hoogste energielabel in de straat is A++++; het laagste is G. Het gemiddelde energielabel is er C. Het adres De Reulver 94-A heeft als status: 'verblijfsobject in gebruik'. Het pand waarin dit adres ligt heeft als status: 'pand in gebruik'.
De Reulver 94-A is een adres gelegen in de gemeente Enschede, provincie Overijssel. Dit adres is geregistreerd in de Basisregistratie Adressen en Gebouwen (BAG) met als unieke identificatie 0153010000347983.
Het pand op De Reulver 94-A is gebouwd in 1970, wat betekent dat het 56 jaar oud is. Dit is een ouder pand. Het pand heeft mogelijk aanzienlijke renovaties nodig om aan de huidige standaarden te voldoen.
De woning op De Reulver 94-A heeft een gebruiksoppervlakte van 234 m². Dit is ruim vergeleken met de gemiddelde Nederlandse woning, die een oppervlakte heeft van ongeveer 119 m². De gebruiksoppervlakte is de maat die wordt gebruikt in de BAG-registratie, de landelijke registratie van de Nederlandse overheid.
De Reulver 94-A heeft als functie: industrie. Deze gebruiksfunctie(s) zijn vastgelegd in de BAG-registratie en geven aan waarvoor het adres officieel mag worden gebruikt.
De Reulver 94-A is gelegen op kadastraal perceel LNK00Z1426. Deze kadastrale aanduiding is uniek en wordt gebruikt door het Kadaster om eigendomsrechten en andere zakelijke rechten vast te leggen. Het perceel maakt onderdeel uit van de kadastrale gemeente Lonneker.
Het perceel waarop De Reulver 94-A staat heeft een oppervlakte van 982 m². Dit is een groot perceel. De perceeloppervlakte wordt geregistreerd door het Kadaster. Gedetailleerde informatie over de maten van dit perceel kunt u vinden in het rapport Kadastrale kaart met maatvoering van De Reulver 94-A.
De eigenaar van De Reulver 94-A is op te vragen op deze pagina.
De informatie over dit adres is afkomstig uit officiële overheidsregistraties, voornamelijk de Basisregistratie Adressen en Gebouwen (BAG) en de Basisregistratie Kadaster (BRK). Deze gegevens worden beheerd door respectievelijk gemeenten en het Kadaster, en worden regelmatig bijgewerkt. Energielabelgegevens komen uit de database van de Rijksdienst voor Ondernemend Nederland (RVO).
