
De Reulver 94 is een adres in Enschede, dat zich bevindt binnen de gemeentegrenzen van Enschede en de grenzen van de provincie Overijssel. De oppervlakte van het verblijfsobject is met 536 m² aan de grote kant. Het perceel heeft een oppervlakte van 982 m². Het adres is klein vergeleken met andere objecten in de straat. Het grootste object in de straat heeft een oppervlakte van 7532 m², het kleinste is 9 m² groot. De meeste Nederlandse gebouwen zijn gebouwd in de periode 1965-1984. Zo ook het pand waarin De Reulver 94 ligt, dat gebouwd is in 1970. Het nieuwste gebouw in de straat komt uit 2025 en het oudste uit 1967. Dit object is relatief oud. Het verblijfsobject heeft de volgende gebruiksdoelen: 'industriefunctie'.
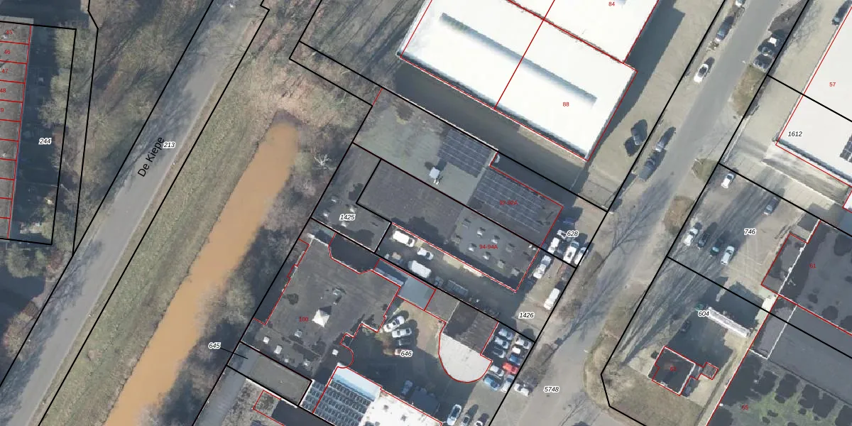
Het adres ligt op het perceel LNK00-Z-1426, dat zich in de kadastrale gemeente Lonneker bevindt. Het perceel is kleiner dan gemiddeld in Lonneker. Het perceel is 982 m² groot, terwijl het gemiddelde ligt op 2630,22 m². De grootste perceeloppervlakte in de kadastrale gemeente is 1,19 km². De kleinste oppervlakte bedraagt 0 m². Op het perceel liggen in totaal 2 adressen. De huidige grenzen van het perceel zijn digitaal in de Basisregistratie Kadaster (BRK) geregistreerd op 18-11-2010.
Er is geen energielabel geregistreerd voor het adres. Het hoogste energielabel in de straat is A++++; het laagste is G. Het gemiddelde energielabel is er C. Het adres De Reulver 94 heeft als status: 'verblijfsobject in gebruik'. Het pand waarin dit adres ligt heeft als status: 'pand in gebruik'.
De Reulver 94 is een adres gelegen in de gemeente Enschede, provincie Overijssel. Dit adres is geregistreerd in de Basisregistratie Adressen en Gebouwen (BAG) met als unieke identificatie 0153010000455639.
Het pand op De Reulver 94 is gebouwd in 1970, wat betekent dat het 56 jaar oud is. Dit is een ouder pand. Het pand heeft mogelijk aanzienlijke renovaties nodig om aan de huidige standaarden te voldoen.
De woning op De Reulver 94 heeft een gebruiksoppervlakte van 536 m². Dit is ruim vergeleken met de gemiddelde Nederlandse woning, die een oppervlakte heeft van ongeveer 119 m². De gebruiksoppervlakte is de maat die wordt gebruikt in de BAG-registratie, de landelijke registratie van de Nederlandse overheid.
De Reulver 94 heeft als functie: industrie. Deze gebruiksfunctie(s) zijn vastgelegd in de BAG-registratie en geven aan waarvoor het adres officieel mag worden gebruikt.
De Reulver 94 is gelegen op kadastraal perceel LNK00Z1426. Deze kadastrale aanduiding is uniek en wordt gebruikt door het Kadaster om eigendomsrechten en andere zakelijke rechten vast te leggen. Het perceel maakt onderdeel uit van de kadastrale gemeente Lonneker.
Het perceel waarop De Reulver 94 staat heeft een oppervlakte van 982 m². Dit is een groot perceel. De perceeloppervlakte wordt geregistreerd door het Kadaster. Gedetailleerde informatie over de maten van dit perceel kunt u vinden in het rapport Kadastrale kaart met maatvoering van De Reulver 94.
De eigenaar van De Reulver 94 is op te vragen op deze pagina.
De informatie over dit adres is afkomstig uit officiële overheidsregistraties, voornamelijk de Basisregistratie Adressen en Gebouwen (BAG) en de Basisregistratie Kadaster (BRK). Deze gegevens worden beheerd door respectievelijk gemeenten en het Kadaster, en worden regelmatig bijgewerkt. Energielabelgegevens komen uit de database van de Rijksdienst voor Ondernemend Nederland (RVO).
