
Het adres Harskamper Engweg 20 bevindt zich in de plaats Harskamp, in de gemeente Harskamp en de provincie Gelderland. De oppervlakte bedraagt 277 m², waarmee het adres groter dan gemiddeld is. De grootte van het perceel waarop het adres ligt is 6448 m². In vergelijking met de andere adressen in de straat is de oppervlakte van dit object relatief groot. Het grootste verblijfsobject heeft een oppervlakte van 969 m², de oppervlakte van het kleinste object bedraagt 71 m². Het gebouw waarin Harskamper Engweg 20 ligt komt uit het jaar 1920. Objecten die gebouwd zijn vóór 1965 classificeren we hier als oud. Dit is het oudste object in de straat. Het nieuwste pand komt uit 2020 en het gemiddelde bouwjaar in de straat is 1971. Het verblijfsobject heeft de volgende gebruiksdoelen: 'woonfunctie' en 'industriefunctie'.
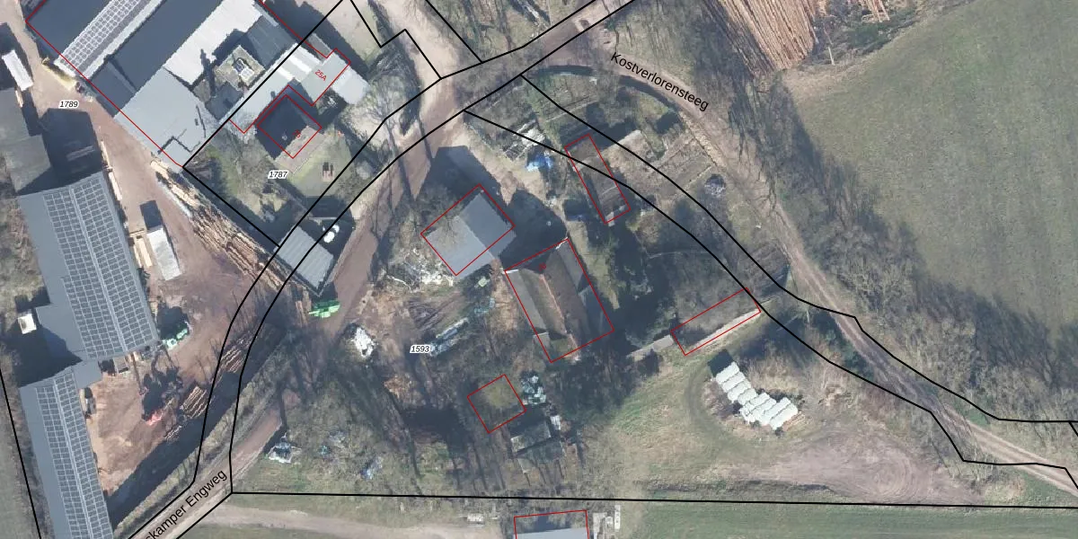
Het perceel waarop het adres ligt is OTL02-A-1593. De afkorting 'OTL02' staat voor kadastrale gemeente Otterlo. Het perceel is kleiner dan gemiddeld in Otterlo. Het perceel is 6448 m² groot, terwijl het gemiddelde ligt op 2,7 ha. Het kleinste perceel in de kadastrale gemeente is 0 m² groot. De grootste perceeloppervlakte is 11,55 km². Er zijn geen andere adressen aanwezig op het perceel. In de Basisregistratie Kadaster (BRK) werden de grenzen van het perceel geregistreerd op 24-11-2020.
Er is geen energielabel geregistreerd voor het adres. Het hoogste energielabel in de straat is B; het laagste is G. Het gemiddelde energielabel is er C. Het adres Harskamper Engweg 20 heeft als status: 'verblijfsobject in gebruik'. Het pand waarin dit adres ligt heeft als status: 'pand in gebruik'.
Harskamper Engweg 20 is een adres gelegen in de gemeente Ede, provincie Gelderland. Dit adres is geregistreerd in de Basisregistratie Adressen en Gebouwen (BAG) met als unieke identificatie 0228010000040413.
Het pand op Harskamper Engweg 20 is gebouwd in 1920, wat betekent dat het 106 jaar oud is. Dit is een ouder pand. Het pand heeft mogelijk aanzienlijke renovaties nodig om aan de huidige standaarden te voldoen.
De woning op Harskamper Engweg 20 heeft een gebruiksoppervlakte van 277 m². Dit is ruim vergeleken met de gemiddelde Nederlandse woning, die een oppervlakte heeft van ongeveer 119 m². De gebruiksoppervlakte is de maat die wordt gebruikt in de BAG-registratie, de landelijke registratie van de Nederlandse overheid.
Harskamper Engweg 20 heeft als functie: wonen en industrie. Deze gebruiksfunctie(s) zijn vastgelegd in de BAG-registratie en geven aan waarvoor het adres officieel mag worden gebruikt.
Harskamper Engweg 20 is gelegen op kadastraal perceel OTL02A1593. Deze kadastrale aanduiding is uniek en wordt gebruikt door het Kadaster om eigendomsrechten en andere zakelijke rechten vast te leggen. Het perceel maakt onderdeel uit van de kadastrale gemeente Otterlo.
Het perceel waarop Harskamper Engweg 20 staat heeft een oppervlakte van 6448 m². Dit is een zeer groot perceel. De perceeloppervlakte wordt geregistreerd door het Kadaster. Gedetailleerde informatie over de maten van dit perceel kunt u vinden in het rapport Kadastrale kaart met maatvoering van Harskamper Engweg 20.
De eigenaar van Harskamper Engweg 20 is op te vragen op deze pagina.
De informatie over dit adres is afkomstig uit officiële overheidsregistraties, voornamelijk de Basisregistratie Adressen en Gebouwen (BAG) en de Basisregistratie Kadaster (BRK). Deze gegevens worden beheerd door respectievelijk gemeenten en het Kadaster, en worden regelmatig bijgewerkt. Energielabelgegevens komen uit de database van de Rijksdienst voor Ondernemend Nederland (RVO).
