
Kanaaldijk 1 is een adres in Hattem, dat zich bevindt binnen de gemeentegrenzen van Hattem en de grenzen van de provincie Gelderland. De oppervlakte van het verblijfsobject is met 154 m² aan de grote kant. Het perceel heeft een oppervlakte van 1490 m². De oppervlakte van dit adres is groot vergeleken met de oppervlaktes van andere adressen in de straat. De kleinste oppervlakte bedraagt er 24 m², de grootste 170 m². De gemiddelde bouwperiode van gebouwen in Nederland ligt tussen de jaren 1965-1984. Dat geldt ook voor het bouwjaar van Kanaaldijk 1: het is gebouwd in het jaar 1968. Het nieuwste gebouw in de straat komt uit 2024 en het oudste uit 1960. Dit object is relatief oud. Voor het verblijfsobject gelden deze gebruiksdoelen: 'woonfunctie'.
Deze woning is voor het laatst verkocht op 1 december 2015. Meer informatie over deze transactie? Bestel het Woningtransactierapport om de verkoopprijs en andere informatie te zien.
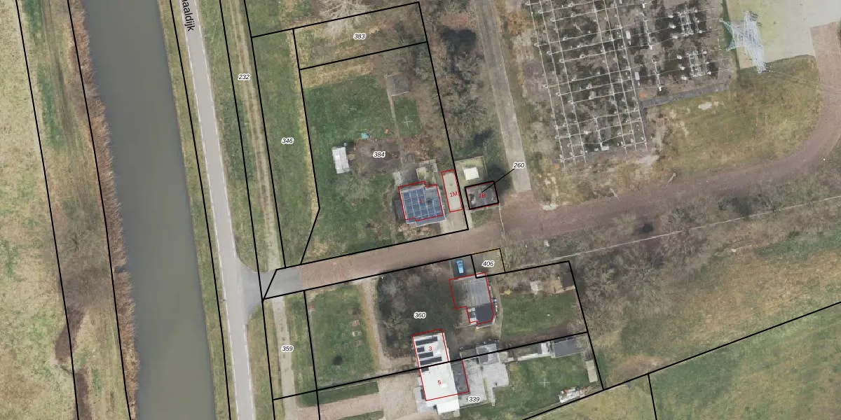
Het adres ligt op het perceel HTM00-I-384, dat zich in de kadastrale gemeente Hattem bevindt. De gemiddelde perceelgrootte in Hattem is 3319,92 m². Dit perceel is kleiner: de perceeloppervlakte bedraagt 1490 m². Het kleinste perceel in de kadastrale gemeente is 0 m² groot. De grootste perceeloppervlakte is 60,9 ha. Op het perceel liggen in totaal 2 adressen. De huidige grenzen van het perceel zijn digitaal in de Basisregistratie Kadaster (BRK) geregistreerd op 04-07-2025.
Er is geen energielabel geregistreerd voor het adres. Het hoogste energielabel in de straat is E; het laagste is G. Het gemiddelde energielabel is er E. Het adres Kanaaldijk 1 heeft als status: 'verblijfsobject in gebruik'. Het pand waarin dit adres ligt heeft als status: 'pand in gebruik'.
Kanaaldijk 1 is een adres gelegen in de gemeente Hattem, provincie Gelderland. Dit adres is geregistreerd in de Basisregistratie Adressen en Gebouwen (BAG) met als unieke identificatie 0244010000002877.
Het pand op Kanaaldijk 1 is gebouwd in 1968, wat betekent dat het 58 jaar oud is. Dit is een ouder pand. Het pand heeft mogelijk aanzienlijke renovaties nodig om aan de huidige standaarden te voldoen.
De woning op Kanaaldijk 1 heeft een gebruiksoppervlakte van 154 m². Dit is ruim vergeleken met de gemiddelde Nederlandse woning, die een oppervlakte heeft van ongeveer 119 m². De gebruiksoppervlakte is de maat die wordt gebruikt in de BAG-registratie, de landelijke registratie van de Nederlandse overheid.
Kanaaldijk 1 heeft als functie: wonen. Deze gebruiksfunctie(s) zijn vastgelegd in de BAG-registratie en geven aan waarvoor het adres officieel mag worden gebruikt.
Kanaaldijk 1 is gelegen op kadastraal perceel HTM00I384. Deze kadastrale aanduiding is uniek en wordt gebruikt door het Kadaster om eigendomsrechten en andere zakelijke rechten vast te leggen. Het perceel maakt onderdeel uit van de kadastrale gemeente Hattem.
Het perceel waarop Kanaaldijk 1 staat heeft een oppervlakte van 1490 m². Dit is een zeer groot perceel. De perceeloppervlakte wordt geregistreerd door het Kadaster. Gedetailleerde informatie over de maten van dit perceel kunt u vinden in het rapport Kadastrale kaart met maatvoering van Kanaaldijk 1.
De eigenaar van Kanaaldijk 1 is op te vragen op deze pagina.
De informatie over dit adres is afkomstig uit officiële overheidsregistraties, voornamelijk de Basisregistratie Adressen en Gebouwen (BAG) en de Basisregistratie Kadaster (BRK). Deze gegevens worden beheerd door respectievelijk gemeenten en het Kadaster, en worden regelmatig bijgewerkt. Energielabelgegevens komen uit de database van de Rijksdienst voor Ondernemend Nederland (RVO).
