
Kanaaldijk 1-M is gelegen in de plaats Hattem, de gemeente Hattem en de provincie Gelderland. Het verblijfsobject is vergeleken met het Nederlandse gemiddelde aan de kleine kant: de oppervlakte is 24 m². Het perceel waarop het adres zich bevindt heeft een oppervlakte van 1490 m². Er zijn geen kleinere objecten in deze straat. De gemiddelde oppervlakte is er 101 m². Het grootste verblijfsobject is 170 m². Kanaaldijk 1-M ligt in een gebouw uit het jaar 2020. Daarmee behoort het tot de groep panden van na 1984, die we als relatief nieuw bestempelen. Dit object is relatief nieuw in de straat. Het nieuwste gebouw komt er uit het jaar 2024 en het oudste uit het jaar 1960. De volgende gebruiksdoelen zijn geregistreerd voor dit adres: 'woonfunctie'.
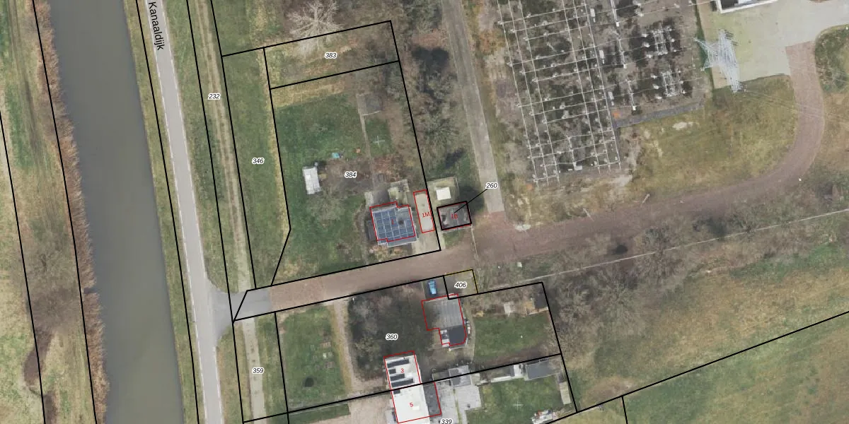
Het adres ligt op het perceel HTM00-I-384, dat zich in de kadastrale gemeente Hattem bevindt. Het perceel is 1490 m² groot. Dat is kleiner dan de gemiddelde perceeloppervlakte in Hattem, dat op 3319,46 m² ligt. Het grootste perceel in de kadastrale gemeente is 60,9 ha. Het kleinste perceel heeft een oppervlakte van 0 m². Op het perceel liggen in totaal 2 adressen. De laatste wijziging in het de Basisregistratie Kadaster (BRK) was op 04-07-2025.
Er is geen energielabel geregistreerd voor het adres. Het hoogste energielabel in de straat is E; het laagste is G. Het gemiddelde energielabel is er E. Het adres Kanaaldijk 1-M heeft als status: 'verblijfsobject in gebruik'. Het pand waarin dit adres ligt heeft als status: 'pand in gebruik'.
Kanaaldijk 1-M is een adres gelegen in de gemeente Hattem, provincie Gelderland. Dit adres is geregistreerd in de Basisregistratie Adressen en Gebouwen (BAG) met als unieke identificatie 0244010000006600.
Het pand op Kanaaldijk 1-M is gebouwd in 2020, wat betekent dat het 6 jaar oud is. Dit is een vrij nieuw pand. Het pand is dus waarschijnlijk goed geïsoleerd, geluidsdicht en voldoet aan de huidige bouwstandaarden. Op korte termijn zijn er waarschijnlijk weinig onderhoudskosten.
De woning op Kanaaldijk 1-M heeft een gebruiksoppervlakte van 24 m². Dit is relatief klein vergeleken met de gemiddelde Nederlandse woning, die een oppervlakte heeft van ongeveer 119 m². De gebruiksoppervlakte is de maat die wordt gebruikt in de BAG-registratie, de landelijke registratie van de Nederlandse overheid.
Kanaaldijk 1-M heeft als functie: wonen. Deze gebruiksfunctie(s) zijn vastgelegd in de BAG-registratie en geven aan waarvoor het adres officieel mag worden gebruikt.
Kanaaldijk 1-M is gelegen op kadastraal perceel HTM00I384. Deze kadastrale aanduiding is uniek en wordt gebruikt door het Kadaster om eigendomsrechten en andere zakelijke rechten vast te leggen. Het perceel maakt onderdeel uit van de kadastrale gemeente Hattem.
Het perceel waarop Kanaaldijk 1-M staat heeft een oppervlakte van 1490 m². Dit is een zeer groot perceel. De perceeloppervlakte wordt geregistreerd door het Kadaster. Gedetailleerde informatie over de maten van dit perceel kunt u vinden in het rapport Kadastrale kaart met maatvoering van Kanaaldijk 1-M.
De eigenaar van Kanaaldijk 1-M is op te vragen op deze pagina.
De informatie over dit adres is afkomstig uit officiële overheidsregistraties, voornamelijk de Basisregistratie Adressen en Gebouwen (BAG) en de Basisregistratie Kadaster (BRK). Deze gegevens worden beheerd door respectievelijk gemeenten en het Kadaster, en worden regelmatig bijgewerkt. Energielabelgegevens komen uit de database van de Rijksdienst voor Ondernemend Nederland (RVO).
