
Bospad 2 is gelegen in de plaats Havelte, de gemeente Westerveld en de provincie Drenthe. De oppervlakte bedraagt 539 m², waarmee het adres groter dan gemiddeld is. De grootte van het perceel waarop het adres ligt is 1579 m². Dit is het adres met de grootste oppervlakte van alle adressen in de straat. Gemiddeld hebben de objecten in de straat een oppervlakte van 539 m². De kleinste oppervlakte is er 539 m². In het jaar 2001 is het pand waarin Bospad 2 ligt gebouwd. Dat is relatief recent: de meeste gebouwen in Nederland zijn gebouwd in de periode 1965-1984. In de straat is dit het nieuwste pand en stamt het oudste object uit het jaar 2001. Het gemiddelde bouwjaar in de straat is 2001. De volgende gebruiksdoelen zijn geregistreerd voor dit adres: 'gezondheidszorgfunctie'.
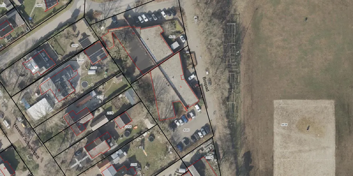
Het adres ligt op het perceel HVT03-I-4043, dat zich in de kadastrale gemeente Havelte bevindt. Het perceel is 1579 m² groot. Dat is kleiner dan de gemiddelde perceeloppervlakte in Havelte, dat op 1,1 ha ligt. De grootste perceeloppervlakte in de kadastrale gemeente is 1,09 km². De kleinste oppervlakte bedraagt 0 m². Er zijn geen andere adressen aanwezig op het perceel. De laatste wijziging in het de Basisregistratie Kadaster (BRK) was op 15-04-2011.
Bij de laatste meting is voor het adres het energielabel A+ geregistreerd. Het hoogste energielabel in de straat is A+; het laagste is G. Het gemiddelde energielabel is er A+. Het adres Bospad 2 heeft als status: 'verblijfsobject in gebruik'. Het pand waarin dit adres ligt heeft als status: 'pand in gebruik'.
Bospad 2 is een adres gelegen in de gemeente Westerveld, provincie Drenthe. Dit adres is geregistreerd in de Basisregistratie Adressen en Gebouwen (BAG) met als unieke identificatie 1701010000218025.
Het pand op Bospad 2 is gebouwd in 2001, wat betekent dat het 25 jaar oud is. Dit is een pand van middelbare leeftijd. Het pand is van gemiddelde leeftijd en zal waarschijnlijk verouderde elementen bevatten.
De woning op Bospad 2 heeft een gebruiksoppervlakte van 539 m². Dit is ruim vergeleken met de gemiddelde Nederlandse woning, die een oppervlakte heeft van ongeveer 119 m². De gebruiksoppervlakte is de maat die wordt gebruikt in de BAG-registratie, de landelijke registratie van de Nederlandse overheid.
Bospad 2 heeft als functie: gezondheidszorg. Deze gebruiksfunctie(s) zijn vastgelegd in de BAG-registratie en geven aan waarvoor het adres officieel mag worden gebruikt.
Bospad 2 is gelegen op kadastraal perceel HVT03I4043. Deze kadastrale aanduiding is uniek en wordt gebruikt door het Kadaster om eigendomsrechten en andere zakelijke rechten vast te leggen. Het perceel maakt onderdeel uit van de kadastrale gemeente Havelte.
Het perceel waarop Bospad 2 staat heeft een oppervlakte van 1579 m². Dit is een zeer groot perceel. De perceeloppervlakte wordt geregistreerd door het Kadaster. Gedetailleerde informatie over de maten van dit perceel kunt u vinden in het rapport Kadastrale kaart met maatvoering van Bospad 2.
De eigenaar van Bospad 2 is op te vragen op deze pagina.
De informatie over dit adres is afkomstig uit officiële overheidsregistraties, voornamelijk de Basisregistratie Adressen en Gebouwen (BAG) en de Basisregistratie Kadaster (BRK). Deze gegevens worden beheerd door respectievelijk gemeenten en het Kadaster, en worden regelmatig bijgewerkt. Energielabelgegevens komen uit de database van de Rijksdienst voor Ondernemend Nederland (RVO).
