
Paradijsweg 10 is gelegen in de plaats Leusden, de gemeente Leusden en de provincie Utrecht. De oppervlakte bedraagt 169 m², waarmee het adres groter dan gemiddeld is. De grootte van het perceel waarop het adres ligt is 1235 m². Het object is klein ten opzichte van de andere adressen in de straat. Het grootste verblijfsobject is 650 m² groot en het kleinste is 109 m². In Nederland komt het grootste deel van de gebouwen uit de periode 1965-1984. Ook het bouwjaar van Paradijsweg 10 is afkomstig uit die periode: het betreft namelijk een pand uit 1972. In de straat komt het nieuwste gebouw uit het jaar 2020 en het oudste uit 1900. Het bouwjaar van dit object is relatief oud. De volgende gebruiksdoelen zijn geregistreerd voor dit adres: 'woonfunctie'.
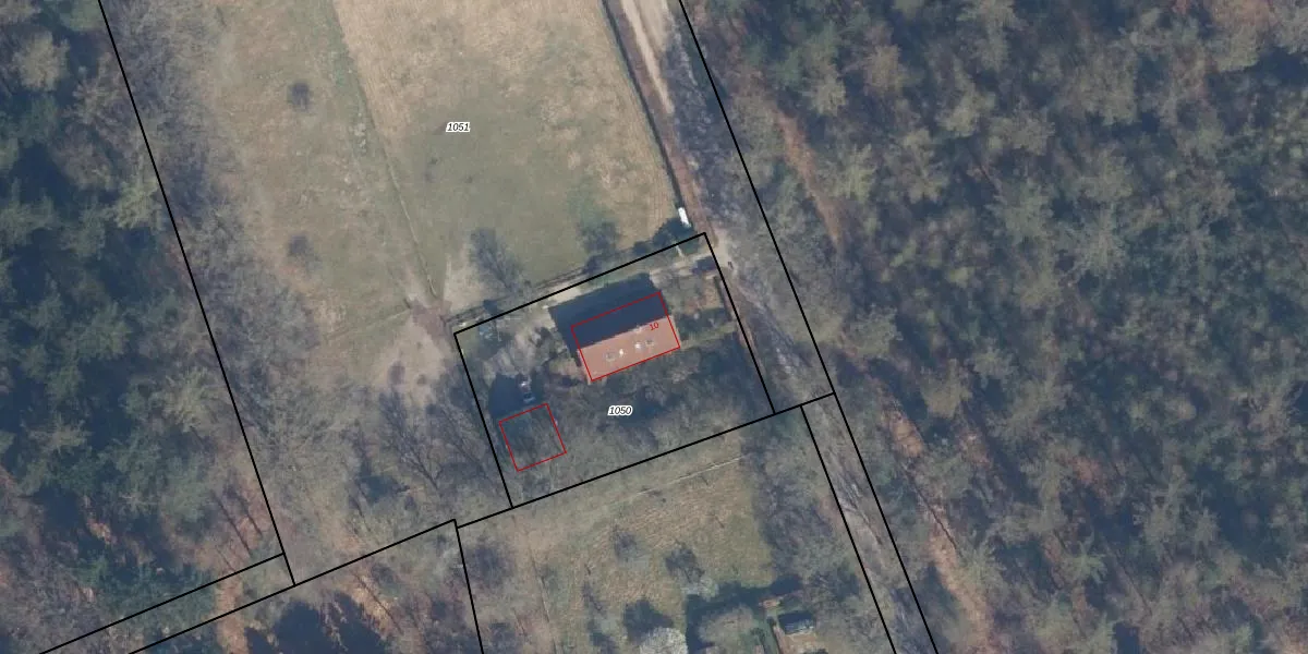
Het perceel waarop het adres ligt is LDN02-B-1050. De afkorting 'LDN02' staat voor kadastrale gemeente Leusden. Het perceel is 1235 m² groot. Dat is kleiner dan de gemiddelde perceeloppervlakte in Leusden, dat op 3489,47 m² ligt. Het grootste perceel in de kadastrale gemeente is 8,56 km². Het kleinste perceel heeft een oppervlakte van 0 m². Er zijn geen andere adressen aanwezig op het perceel. De laatste wijziging in het de Basisregistratie Kadaster (BRK) was op 19-09-1997.
Er is geen energielabel geregistreerd voor het adres. Het hoogste energielabel in de straat is B; het laagste is G. Het gemiddelde energielabel is er B. Het adres Paradijsweg 10 heeft als status: 'verblijfsobject in gebruik'. Het pand waarin dit adres ligt heeft als status: 'pand in gebruik'.
Paradijsweg 10 is een adres gelegen in de gemeente Leusden, provincie Utrecht. Dit adres is geregistreerd in de Basisregistratie Adressen en Gebouwen (BAG) met als unieke identificatie 0327010000284537.
Het pand op Paradijsweg 10 is gebouwd in 1972, wat betekent dat het 54 jaar oud is. Dit is een ouder pand. Het pand heeft mogelijk aanzienlijke renovaties nodig om aan de huidige standaarden te voldoen.
De woning op Paradijsweg 10 heeft een gebruiksoppervlakte van 169 m². Dit is ruim vergeleken met de gemiddelde Nederlandse woning, die een oppervlakte heeft van ongeveer 119 m². De gebruiksoppervlakte is de maat die wordt gebruikt in de BAG-registratie, de landelijke registratie van de Nederlandse overheid.
Paradijsweg 10 heeft als functie: wonen. Deze gebruiksfunctie(s) zijn vastgelegd in de BAG-registratie en geven aan waarvoor het adres officieel mag worden gebruikt.
Paradijsweg 10 is gelegen op kadastraal perceel LDN02B1050. Deze kadastrale aanduiding is uniek en wordt gebruikt door het Kadaster om eigendomsrechten en andere zakelijke rechten vast te leggen. Het perceel maakt onderdeel uit van de kadastrale gemeente Leusden.
Het perceel waarop Paradijsweg 10 staat heeft een oppervlakte van 1235 m². Dit is een zeer groot perceel. De perceeloppervlakte wordt geregistreerd door het Kadaster. Gedetailleerde informatie over de maten van dit perceel kunt u vinden in het rapport Kadastrale kaart met maatvoering van Paradijsweg 10.
De eigenaar van Paradijsweg 10 is op te vragen op deze pagina.
De informatie over dit adres is afkomstig uit officiële overheidsregistraties, voornamelijk de Basisregistratie Adressen en Gebouwen (BAG) en de Basisregistratie Kadaster (BRK). Deze gegevens worden beheerd door respectievelijk gemeenten en het Kadaster, en worden regelmatig bijgewerkt. Energielabelgegevens komen uit de database van de Rijksdienst voor Ondernemend Nederland (RVO).
