
Gockingalaan 51 is gelegen in de plaats Noordbroek, de gemeente Midden-Groningen en de provincie Groningen. De oppervlakte van het adres is 108 m². Dat is vergelijkbaar met het gemiddelde Nederlandse oppervlakte van 119 m². De oppervlakte van het perceel waarin het adres ligt is 385 m². De oppervlakte van dit adres is groot vergeleken met de oppervlaktes van andere adressen in de straat. De kleinste oppervlakte bedraagt er 65 m², de grootste 155 m². Het gebouw waarin Gockingalaan 51 ligt komt uit het jaar 1925. Objecten die gebouwd zijn vóór 1965 classificeren we hier als oud. Dit object is relatief nieuw in de straat. Het nieuwste gebouw komt er uit het jaar 1975 en het oudste uit het jaar 1900. De volgende gebruiksdoelen zijn geregistreerd voor dit adres: 'woonfunctie'.
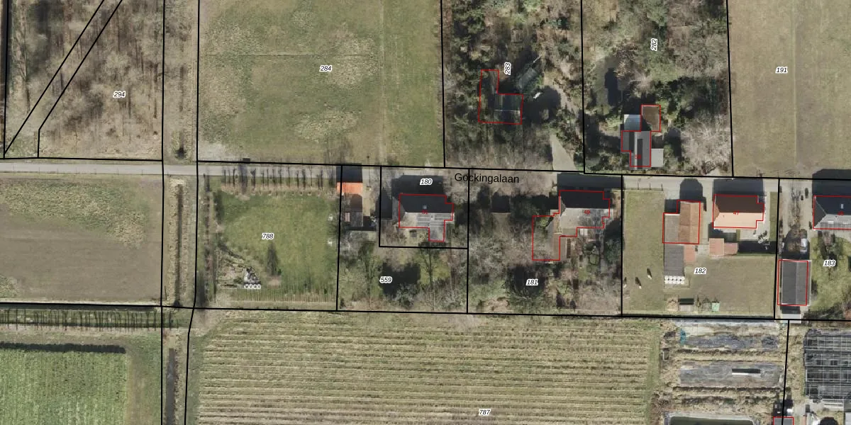
Het adres ligt op het perceel NBK01-H-180, dat zich in de kadastrale gemeente Noordbroek bevindt. Het perceel is 385 m² groot. Dat is kleiner dan de gemiddelde perceeloppervlakte in Noordbroek, dat op 1,7 ha ligt. Het kleinste perceel in de kadastrale gemeente is 2 m² groot. De grootste perceeloppervlakte is 41,3 ha. Op het perceel bevinden zich geen andere adressen. De laatste wijziging in het de Basisregistratie Kadaster (BRK) was op 01-02-1999.
Er is geen energielabel geregistreerd voor het adres. Het hoogste energielabel in de straat is C; het laagste is G. Het gemiddelde energielabel is er E. Het adres Gockingalaan 51 heeft als status: 'verblijfsobject in gebruik'. Het pand waarin dit adres ligt heeft als status: 'pand in gebruik'.
Gockingalaan 51 is een adres gelegen in de gemeente Midden-Groningen, provincie Groningen. Dit adres is geregistreerd in de Basisregistratie Adressen en Gebouwen (BAG) met als unieke identificatie 1987010000000437.
Het pand op Gockingalaan 51 is gebouwd in 1925, wat betekent dat het 101 jaar oud is. Dit is een ouder pand. Het pand heeft mogelijk aanzienlijke renovaties nodig om aan de huidige standaarden te voldoen.
De woning op Gockingalaan 51 heeft een gebruiksoppervlakte van 108 m². Dit is onder het gemiddelde vergeleken met de gemiddelde Nederlandse woning, die een oppervlakte heeft van ongeveer 119 m². De gebruiksoppervlakte is de maat die wordt gebruikt in de BAG-registratie, de landelijke registratie van de Nederlandse overheid.
Gockingalaan 51 heeft als functie: wonen. Deze gebruiksfunctie(s) zijn vastgelegd in de BAG-registratie en geven aan waarvoor het adres officieel mag worden gebruikt.
Gockingalaan 51 is gelegen op kadastraal perceel NBK01H180. Deze kadastrale aanduiding is uniek en wordt gebruikt door het Kadaster om eigendomsrechten en andere zakelijke rechten vast te leggen. Het perceel maakt onderdeel uit van de kadastrale gemeente Noordbroek.
Het perceel waarop Gockingalaan 51 staat heeft een oppervlakte van 385 m². Dit is een groot perceel. De perceeloppervlakte wordt geregistreerd door het Kadaster. Gedetailleerde informatie over de maten van dit perceel kunt u vinden in het rapport Kadastrale kaart met maatvoering van Gockingalaan 51.
De eigenaar van Gockingalaan 51 is op te vragen op deze pagina.
De informatie over dit adres is afkomstig uit officiële overheidsregistraties, voornamelijk de Basisregistratie Adressen en Gebouwen (BAG) en de Basisregistratie Kadaster (BRK). Deze gegevens worden beheerd door respectievelijk gemeenten en het Kadaster, en worden regelmatig bijgewerkt. Energielabelgegevens komen uit de database van de Rijksdienst voor Ondernemend Nederland (RVO).
