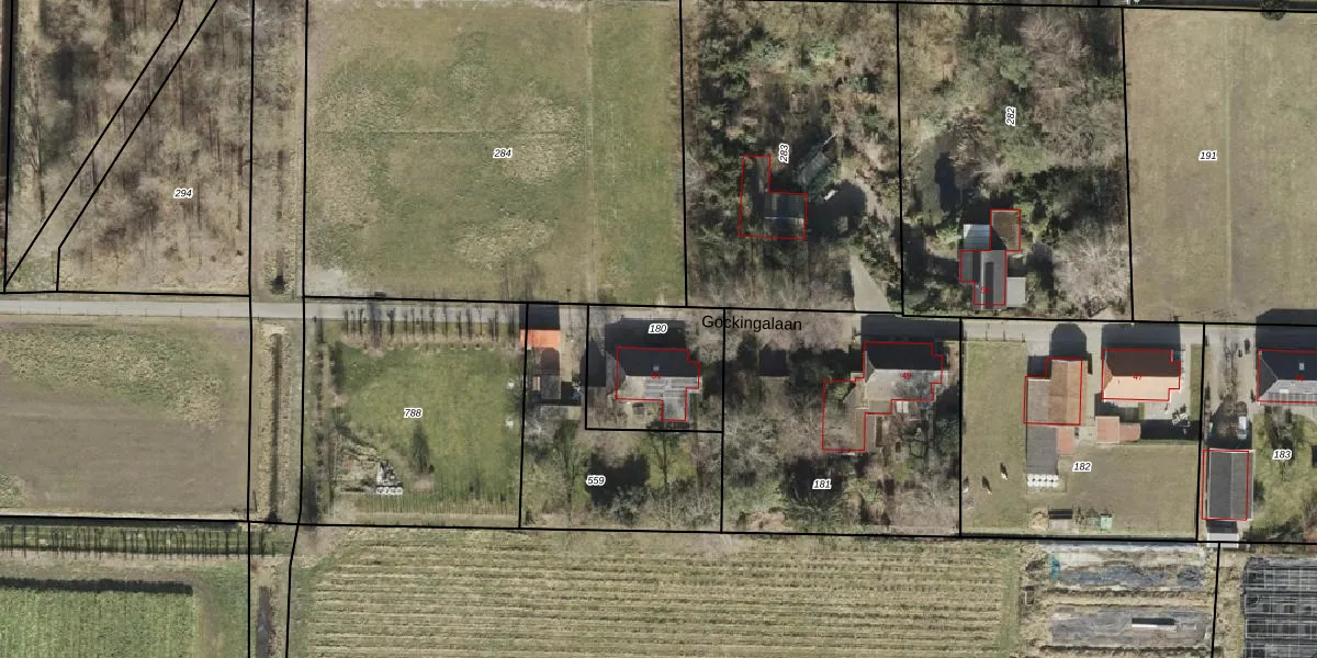
Perceel: NBK01-H-180
KadastraleKaart.com kan meer dan je denktOntdek meer ›
Filter op bestemming 50+ datasets Eigendomsdata in één klik Percelen CRM
385 m2 - 79 m
Eigenaar opvragen
NBK01-H-180 (Noordbroek)
- 9635 BC
VKuxVw21aA5N0VkfeY8jZ hkQBhMUpgrade naar KadastraleKaart Pro
Bekijk op Street View
Download DWG/DXF/Excel
bZsbP5xeUpgrade naar KadastraleKaart Pro
Nyc68zueQ3c0SUpgrade naar KadastraleKaart Pro
Ge4Ovv 9aWOUpgrade naar KadastraleKaart Pro
JFimSm ZnAUpgrade naar KadastraleKaart Pro
0JAKHYmJ4fNOgEoUpgrade naar KadastraleKaart Pro
osuM2RjjWo03rHJUpgrade naar KadastraleKaart Pro
KwBBjJf9Ddfk xIsP55i kOUpgrade naar KadastraleKaart Pro
ErDSG9onLb4yhQUpgrade naar KadastraleKaart Pro
13QyUWBhIlUpgrade naar KadastraleKaart Pro
sphzgi1lqe3eMOyRv0i6iUpgrade naar KadastraleKaart Pro
01/02/1999

Percelen
Gebruik de zoekbalk of klik op een perceel om informatie over het perceel te bekijken.