
Heveringseweg 21 is een adres in Oostvoorne, dat zich bevindt binnen de gemeentegrenzen van Oostvoorne en de grenzen van de provincie Zuid-Holland. Het perceel waarop het verblijfsobject staat is 1960 m² groot. De oppervlakte van het adres is 146 m², wat zich rond het Nederlandse gemiddelde van 119 m² bevindt. Het adres is klein vergeleken met andere objecten in de straat. Het grootste object in de straat heeft een oppervlakte van 438 m², het kleinste is 16 m² groot. Heveringseweg 21 bevindt zich in een pand uit het jaar 1905. Daarmee behoort het tot de groep relatief oude panden in Nederland die gebouwd zijn vóór 1965. In de straat komt het nieuwste gebouw uit het jaar 2024 en het oudste uit 1702. Het bouwjaar van dit object is relatief oud. Voor het verblijfsobject gelden deze gebruiksdoelen: 'woonfunctie'.
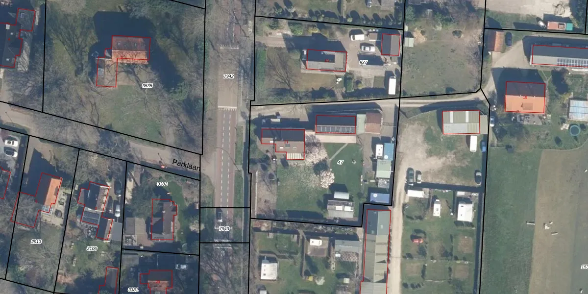
Het adres ligt op het perceel WVN00-C-47, dat zich in de kadastrale gemeente Westvoorne bevindt. De gemiddelde perceelgrootte in Westvoorne is 2,0 ha. Dit perceel is kleiner: de perceeloppervlakte bedraagt 1960 m². Het grootste perceel in de kadastrale gemeente is 18,03 km². Het kleinste perceel heeft een oppervlakte van 1 m². Er zijn geen andere adressen aanwezig op het perceel. De huidige grenzen van het perceel zijn digitaal in de Basisregistratie Kadaster (BRK) geregistreerd op 14-06-2002.
Er is geen energielabel geregistreerd voor het adres. Het hoogste energielabel in de straat is A; het laagste is G. Het gemiddelde energielabel is er C. Het adres Heveringseweg 21 heeft als status: 'verblijfsobject in gebruik'. Het pand waarin dit adres ligt heeft als status: 'pand in gebruik'.
Heveringseweg 21 is een adres gelegen in de gemeente Voorne aan Zee, provincie Zuid-Holland. Dit adres is geregistreerd in de Basisregistratie Adressen en Gebouwen (BAG) met als unieke identificatie 0614010000001749.
Het pand op Heveringseweg 21 is gebouwd in 1905, wat betekent dat het 121 jaar oud is. Dit is een ouder pand. Het pand heeft mogelijk aanzienlijke renovaties nodig om aan de huidige standaarden te voldoen.
De woning op Heveringseweg 21 heeft een gebruiksoppervlakte van 146 m². Dit is gemiddeld vergeleken met de gemiddelde Nederlandse woning, die een oppervlakte heeft van ongeveer 119 m². De gebruiksoppervlakte is de maat die wordt gebruikt in de BAG-registratie, de landelijke registratie van de Nederlandse overheid.
Heveringseweg 21 heeft als functie: wonen. Deze gebruiksfunctie(s) zijn vastgelegd in de BAG-registratie en geven aan waarvoor het adres officieel mag worden gebruikt.
Heveringseweg 21 is gelegen op kadastraal perceel WVN00C47. Deze kadastrale aanduiding is uniek en wordt gebruikt door het Kadaster om eigendomsrechten en andere zakelijke rechten vast te leggen. Het perceel maakt onderdeel uit van de kadastrale gemeente Westvoorne.
Het perceel waarop Heveringseweg 21 staat heeft een oppervlakte van 1960 m². Dit is een zeer groot perceel. De perceeloppervlakte wordt geregistreerd door het Kadaster. Gedetailleerde informatie over de maten van dit perceel kunt u vinden in het rapport Kadastrale kaart met maatvoering van Heveringseweg 21.
De eigenaar van Heveringseweg 21 is op te vragen op deze pagina.
De informatie over dit adres is afkomstig uit officiële overheidsregistraties, voornamelijk de Basisregistratie Adressen en Gebouwen (BAG) en de Basisregistratie Kadaster (BRK). Deze gegevens worden beheerd door respectievelijk gemeenten en het Kadaster, en worden regelmatig bijgewerkt. Energielabelgegevens komen uit de database van de Rijksdienst voor Ondernemend Nederland (RVO).
