
Eschoter Engweg 8 is een adres in Otterlo, dat zich bevindt binnen de gemeentegrenzen van Otterlo en de grenzen van de provincie Gelderland. Het object heeft een oppervlakte van 190 m², wat relatief groot is. Het perceel waarop het adres ligt is 3300 m² groot. Het object is klein ten opzichte van de andere adressen in de straat. Het grootste verblijfsobject is 284 m² groot en het kleinste is 155 m². De meeste Nederlandse gebouwen zijn gebouwd in de periode 1965-1984. Zo ook het pand waarin Eschoter Engweg 8 ligt, dat gebouwd is in 1965. Het bouwjaar is oud vergeleken met dat van de andere panden in de straat. Het oudste bouwjaar is er 1932 en de nieuwste is 2005. Voor het verblijfsobject gelden deze gebruiksdoelen: 'woonfunctie'.
Deze woning is voor het laatst verkocht op 1 mei 2006. Meer informatie over deze transactie? Bestel het Woningtransactierapport om de verkoopprijs en andere informatie te zien.
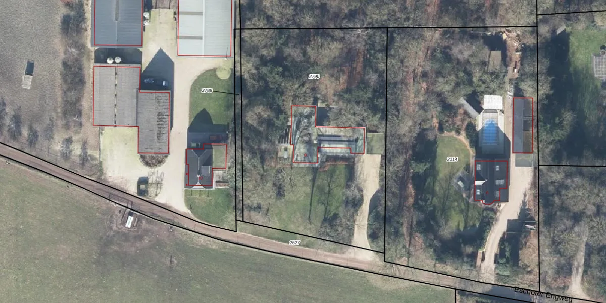
Het perceel waarop het adres ligt is OTL02-E-2790. De afkorting 'OTL02' staat voor kadastrale gemeente Otterlo. De gemiddelde perceelgrootte in Otterlo is 2,7 ha. Dit perceel is kleiner: de perceeloppervlakte bedraagt 3300 m². De grootste perceeloppervlakte in de kadastrale gemeente is 11,55 km². De kleinste oppervlakte bedraagt 0 m². Dit is het enige adres dat aanwezig is op het perceel. De huidige grenzen van het perceel zijn digitaal in de Basisregistratie Kadaster (BRK) geregistreerd op 11-08-2006.
Het adres ligt in een gebouw van het type 'vrijstaande woning'. Bij de laatste meting is voor het adres het energielabel B geregistreerd. Het hoogste energielabel in de straat is A++; het laagste is G. Het gemiddelde energielabel is er B. Het adres Eschoter Engweg 8 heeft als status: 'verblijfsobject in gebruik'. Het pand waarin dit adres ligt heeft als status: 'pand in gebruik'.
Eschoter Engweg 8 is een adres gelegen in de gemeente Ede, provincie Gelderland. Dit adres is geregistreerd in de Basisregistratie Adressen en Gebouwen (BAG) met als unieke identificatie 0228010000047135.
Het pand op Eschoter Engweg 8 is gebouwd in 1965, wat betekent dat het 61 jaar oud is. Dit is een ouder pand. Het pand heeft mogelijk aanzienlijke renovaties nodig om aan de huidige standaarden te voldoen.
De woning op Eschoter Engweg 8 heeft een gebruiksoppervlakte van 190 m². Dit is ruim vergeleken met de gemiddelde Nederlandse woning, die een oppervlakte heeft van ongeveer 119 m². De gebruiksoppervlakte is de maat die wordt gebruikt in de BAG-registratie, de landelijke registratie van de Nederlandse overheid.
Eschoter Engweg 8 heeft als functie: wonen. Deze gebruiksfunctie(s) zijn vastgelegd in de BAG-registratie en geven aan waarvoor het adres officieel mag worden gebruikt.
Eschoter Engweg 8 is gelegen op kadastraal perceel OTL02E2790. Deze kadastrale aanduiding is uniek en wordt gebruikt door het Kadaster om eigendomsrechten en andere zakelijke rechten vast te leggen. Het perceel maakt onderdeel uit van de kadastrale gemeente Otterlo.
Het perceel waarop Eschoter Engweg 8 staat heeft een oppervlakte van 3300 m². Dit is een zeer groot perceel. De perceeloppervlakte wordt geregistreerd door het Kadaster. Gedetailleerde informatie over de maten van dit perceel kunt u vinden in het rapport Kadastrale kaart met maatvoering van Eschoter Engweg 8.
De eigenaar van Eschoter Engweg 8 is op te vragen op deze pagina.
De informatie over dit adres is afkomstig uit officiële overheidsregistraties, voornamelijk de Basisregistratie Adressen en Gebouwen (BAG) en de Basisregistratie Kadaster (BRK). Deze gegevens worden beheerd door respectievelijk gemeenten en het Kadaster, en worden regelmatig bijgewerkt. Energielabelgegevens komen uit de database van de Rijksdienst voor Ondernemend Nederland (RVO).
