
Drosteweg 27 is een adres in Putten, dat zich bevindt binnen de gemeentegrenzen van Putten en de grenzen van de provincie Gelderland. Het verblijfsobject is 124 m² groot en bevindt zich op een perceel met een oppervlakte van 6132 m². Gemiddeld hebben adressen in Nederland een oppervlakte van 119 m². Het adres is klein vergeleken met andere objecten in de straat. Het grootste object in de straat heeft een oppervlakte van 653 m², het kleinste is 37 m² groot. Drosteweg 27 bevindt zich in een pand uit het jaar 1959. Daarmee behoort het tot de groep relatief oude panden in Nederland die gebouwd zijn vóór 1965. Het bouwjaar is oud vergeleken met dat van de andere panden in de straat. Het oudste bouwjaar is er 1920 en de nieuwste is 2022. De volgende gebruiksdoelen zijn geregistreerd voor dit adres: 'woonfunctie'.
Deze woning is voor het laatst verkocht op 1 februari 2018. Meer informatie over deze transactie? Bestel het Woningtransactierapport om de verkoopprijs en andere informatie te zien.
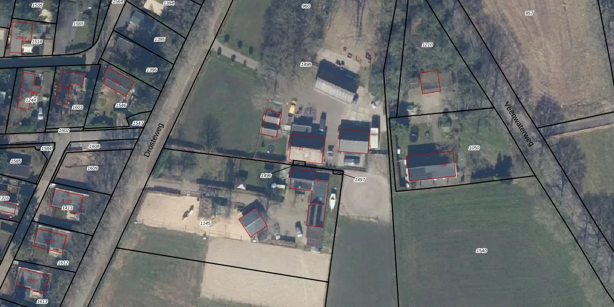
Het adres ligt op het perceel PTN01-E-1498, dat zich in de kadastrale gemeente Putten bevindt. De oppervlakte van het perceel is 6132 m². Dat is groter dan gemiddeld in Putten, waar de gemiddelde perceeloppervlakte op 5114,72 m² ligt. Het grootste perceel in de kadastrale gemeente is 64,6 ha. Het kleinste perceel heeft een oppervlakte van 0 m². Dit is het enige adres dat aanwezig is op het perceel. De huidige grenzen van het perceel zijn digitaal in de Basisregistratie Kadaster (BRK) geregistreerd op 30-08-2016.
Er is geen energielabel geregistreerd voor het adres. Het hoogste energielabel in de straat is A+++; het laagste is G. Het gemiddelde energielabel is er C. Het adres Drosteweg 27 heeft als status: 'verblijfsobject in gebruik'. Het pand waarin dit adres ligt heeft als status: 'pand in gebruik'.
Drosteweg 27 is een adres gelegen in de gemeente Putten, provincie Gelderland. Dit adres is geregistreerd in de Basisregistratie Adressen en Gebouwen (BAG) met als unieke identificatie 0273010000009917.
Het pand op Drosteweg 27 is gebouwd in 1959, wat betekent dat het 67 jaar oud is. Dit is een ouder pand. Het pand heeft mogelijk aanzienlijke renovaties nodig om aan de huidige standaarden te voldoen.
De woning op Drosteweg 27 heeft een gebruiksoppervlakte van 124 m². Dit is gemiddeld vergeleken met de gemiddelde Nederlandse woning, die een oppervlakte heeft van ongeveer 119 m². De gebruiksoppervlakte is de maat die wordt gebruikt in de BAG-registratie, de landelijke registratie van de Nederlandse overheid.
Drosteweg 27 heeft als functie: wonen. Deze gebruiksfunctie(s) zijn vastgelegd in de BAG-registratie en geven aan waarvoor het adres officieel mag worden gebruikt.
Drosteweg 27 is gelegen op kadastraal perceel PTN01E1498. Deze kadastrale aanduiding is uniek en wordt gebruikt door het Kadaster om eigendomsrechten en andere zakelijke rechten vast te leggen. Het perceel maakt onderdeel uit van de kadastrale gemeente Putten.
Het perceel waarop Drosteweg 27 staat heeft een oppervlakte van 6132 m². Dit is een zeer groot perceel. De perceeloppervlakte wordt geregistreerd door het Kadaster. Gedetailleerde informatie over de maten van dit perceel kunt u vinden in het rapport Kadastrale kaart met maatvoering van Drosteweg 27.
De eigenaar van Drosteweg 27 is op te vragen op deze pagina.
De informatie over dit adres is afkomstig uit officiële overheidsregistraties, voornamelijk de Basisregistratie Adressen en Gebouwen (BAG) en de Basisregistratie Kadaster (BRK). Deze gegevens worden beheerd door respectievelijk gemeenten en het Kadaster, en worden regelmatig bijgewerkt. Energielabelgegevens komen uit de database van de Rijksdienst voor Ondernemend Nederland (RVO).
