
Het adres Gildeweg 3 bevindt zich in de plaats Valthermond, in de gemeente Valthermond en de provincie Drenthe. De oppervlakte van het adres is 127 m². Dat is vergelijkbaar met het gemiddelde Nederlandse oppervlakte van 119 m². De oppervlakte van het perceel waarin het adres ligt is 773 m². Het object is klein ten opzichte van de andere adressen in de straat. Het grootste verblijfsobject is 719 m² groot en het kleinste is 116 m². Het gebouw waarin Gildeweg 3 ligt komt uit het jaar 1950. Objecten die gebouwd zijn vóór 1965 classificeren we hier als oud. Het nieuwste gebouw in de straat komt uit 1984 en het oudste uit 1943. Dit object is relatief oud. Het verblijfsobject heeft de volgende gebruiksdoelen: 'woonfunctie'.
Deze woning is voor het laatst verkocht op 1 november 2006. Meer informatie over deze transactie? Bestel het Woningtransactierapport om de verkoopprijs en andere informatie te zien.
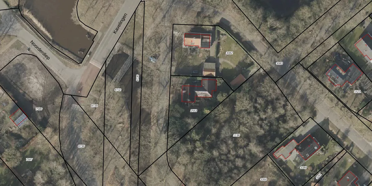
Het perceel waarop het adres ligt is ODN00-M-2553. De afkorting 'ODN00' staat voor kadastrale gemeente Odoorn. Het perceel is kleiner dan gemiddeld in Odoorn. Het perceel is 773 m² groot, terwijl het gemiddelde ligt op 1,4 ha. Het kleinste perceel in de kadastrale gemeente is 1 m² groot. De grootste perceeloppervlakte is 69,9 ha. Op het perceel bevinden zich geen andere adressen. In de Basisregistratie Kadaster (BRK) werden de grenzen van het perceel geregistreerd op 23-11-2005.
Er is geen energielabel geregistreerd voor het adres. Het hoogste energielabel in de straat is B; het laagste is G. Het gemiddelde energielabel is er C. Het adres Gildeweg 3 heeft als status: 'verblijfsobject in gebruik'. Het pand waarin dit adres ligt heeft als status: 'pand in gebruik'.
Gildeweg 3 is een adres gelegen in de gemeente Borger-Odoorn, provincie Drenthe. Dit adres is geregistreerd in de Basisregistratie Adressen en Gebouwen (BAG) met als unieke identificatie 1681010000010485.
Het pand op Gildeweg 3 is gebouwd in 1950, wat betekent dat het 76 jaar oud is. Dit is een ouder pand. Het pand heeft mogelijk aanzienlijke renovaties nodig om aan de huidige standaarden te voldoen.
De woning op Gildeweg 3 heeft een gebruiksoppervlakte van 127 m². Dit is gemiddeld vergeleken met de gemiddelde Nederlandse woning, die een oppervlakte heeft van ongeveer 119 m². De gebruiksoppervlakte is de maat die wordt gebruikt in de BAG-registratie, de landelijke registratie van de Nederlandse overheid.
Gildeweg 3 heeft als functie: wonen. Deze gebruiksfunctie(s) zijn vastgelegd in de BAG-registratie en geven aan waarvoor het adres officieel mag worden gebruikt.
Gildeweg 3 is gelegen op kadastraal perceel ODN00M2553. Deze kadastrale aanduiding is uniek en wordt gebruikt door het Kadaster om eigendomsrechten en andere zakelijke rechten vast te leggen. Het perceel maakt onderdeel uit van de kadastrale gemeente Odoorn.
Het perceel waarop Gildeweg 3 staat heeft een oppervlakte van 773 m². Dit is een groot perceel. De perceeloppervlakte wordt geregistreerd door het Kadaster. Gedetailleerde informatie over de maten van dit perceel kunt u vinden in het rapport Kadastrale kaart met maatvoering van Gildeweg 3.
De eigenaar van Gildeweg 3 is op te vragen op deze pagina.
De informatie over dit adres is afkomstig uit officiële overheidsregistraties, voornamelijk de Basisregistratie Adressen en Gebouwen (BAG) en de Basisregistratie Kadaster (BRK). Deze gegevens worden beheerd door respectievelijk gemeenten en het Kadaster, en worden regelmatig bijgewerkt. Energielabelgegevens komen uit de database van de Rijksdienst voor Ondernemend Nederland (RVO).
