
Het adres Lagedijk 1 bevindt zich in de plaats Volkel, in de gemeente Volkel en de provincie Noord-Brabant. De oppervlakte bedraagt 237 m², waarmee het adres groter dan gemiddeld is. De grootte van het perceel waarop het adres ligt is 2120 m². Het adres is klein vergeleken met andere objecten in de straat. Het grootste object in de straat heeft een oppervlakte van 715 m², het kleinste is 127 m² groot. Lagedijk 1 ligt in een gebouw uit het jaar 2025. Daarmee behoort het tot de groep panden van na 1984, die we als relatief nieuw bestempelen. In de straat is dit het nieuwste pand en stamt het oudste object uit het jaar 1956. Het gemiddelde bouwjaar in de straat is 1984. De volgende gebruiksdoelen zijn geregistreerd voor dit adres: 'woonfunctie'.
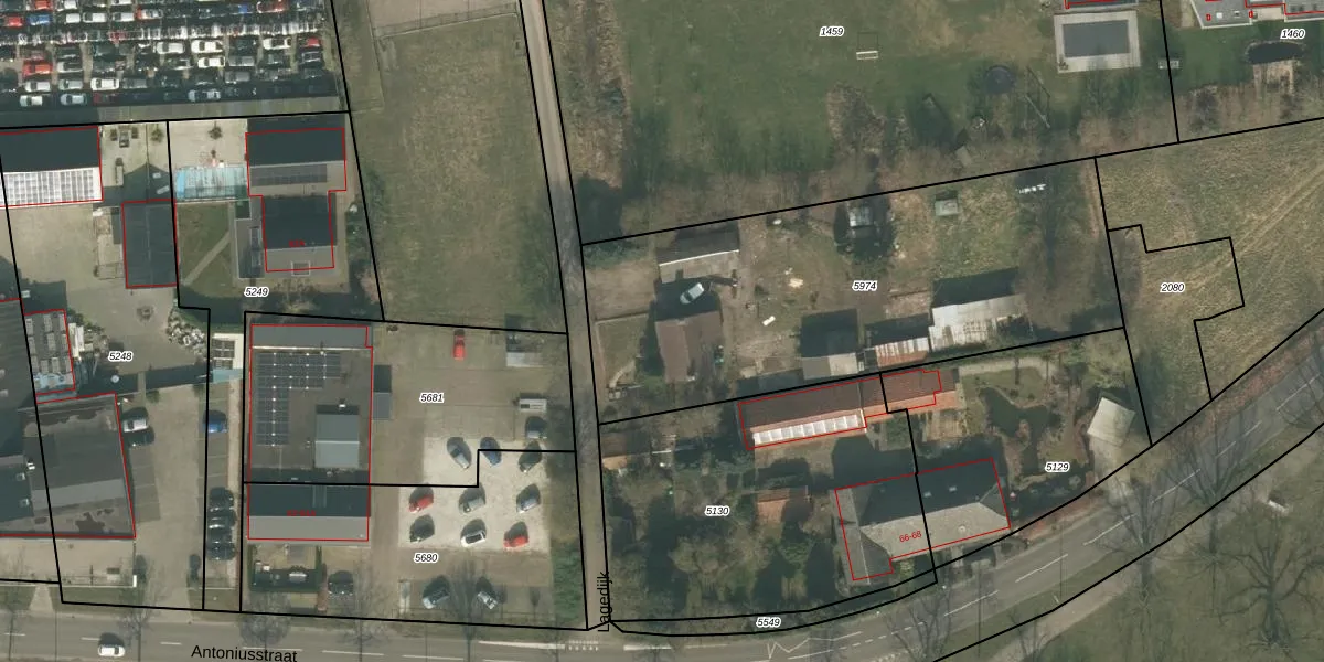
Het adres ligt op het perceel UDN00-F-5974, dat zich in de kadastrale gemeente Uden bevindt. Het perceel is 2120 m² groot. Dat is kleiner dan de gemiddelde perceeloppervlakte in Uden, dat op 3244,85 m² ligt. Het grootste perceel in de kadastrale gemeente is 1,06 km². Het kleinste perceel heeft een oppervlakte van 0 m². Er zijn geen andere adressen aanwezig op het perceel. In de Basisregistratie Kadaster (BRK) werden de grenzen van het perceel geregistreerd op 24-01-2025.
Er is geen energielabel geregistreerd voor het adres. Het hoogste energielabel in de straat is E; het laagste is G. Het gemiddelde energielabel is er E. Het adres Lagedijk 1 heeft als status: 'verblijfsobject gevormd'. Het pand waarin dit adres ligt heeft als status: 'bouw gestart'.
Lagedijk 1 is een adres gelegen in de gemeente Maashorst, provincie Noord-Brabant. Dit adres is geregistreerd in de Basisregistratie Adressen en Gebouwen (BAG) met als unieke identificatie 1991010000421232.
Het pand op Lagedijk 1 is gebouwd in 2025, wat betekent dat het 1 jaar oud is. Dit is een vrij nieuw pand. Het pand is dus waarschijnlijk goed geïsoleerd, geluidsdicht en voldoet aan de huidige bouwstandaarden. Op korte termijn zijn er waarschijnlijk weinig onderhoudskosten.
De woning op Lagedijk 1 heeft een gebruiksoppervlakte van 237 m². Dit is ruim vergeleken met de gemiddelde Nederlandse woning, die een oppervlakte heeft van ongeveer 119 m². De gebruiksoppervlakte is de maat die wordt gebruikt in de BAG-registratie, de landelijke registratie van de Nederlandse overheid.
Lagedijk 1 heeft als functie: wonen. Deze gebruiksfunctie(s) zijn vastgelegd in de BAG-registratie en geven aan waarvoor het adres officieel mag worden gebruikt.
Lagedijk 1 is gelegen op kadastraal perceel UDN00F5974. Deze kadastrale aanduiding is uniek en wordt gebruikt door het Kadaster om eigendomsrechten en andere zakelijke rechten vast te leggen. Het perceel maakt onderdeel uit van de kadastrale gemeente Uden.
Het perceel waarop Lagedijk 1 staat heeft een oppervlakte van 2120 m². Dit is een zeer groot perceel. De perceeloppervlakte wordt geregistreerd door het Kadaster. Gedetailleerde informatie over de maten van dit perceel kunt u vinden in het rapport Kadastrale kaart met maatvoering van Lagedijk 1.
De eigenaar van Lagedijk 1 is op te vragen op deze pagina.
De informatie over dit adres is afkomstig uit officiële overheidsregistraties, voornamelijk de Basisregistratie Adressen en Gebouwen (BAG) en de Basisregistratie Kadaster (BRK). Deze gegevens worden beheerd door respectievelijk gemeenten en het Kadaster, en worden regelmatig bijgewerkt. Energielabelgegevens komen uit de database van de Rijksdienst voor Ondernemend Nederland (RVO).
