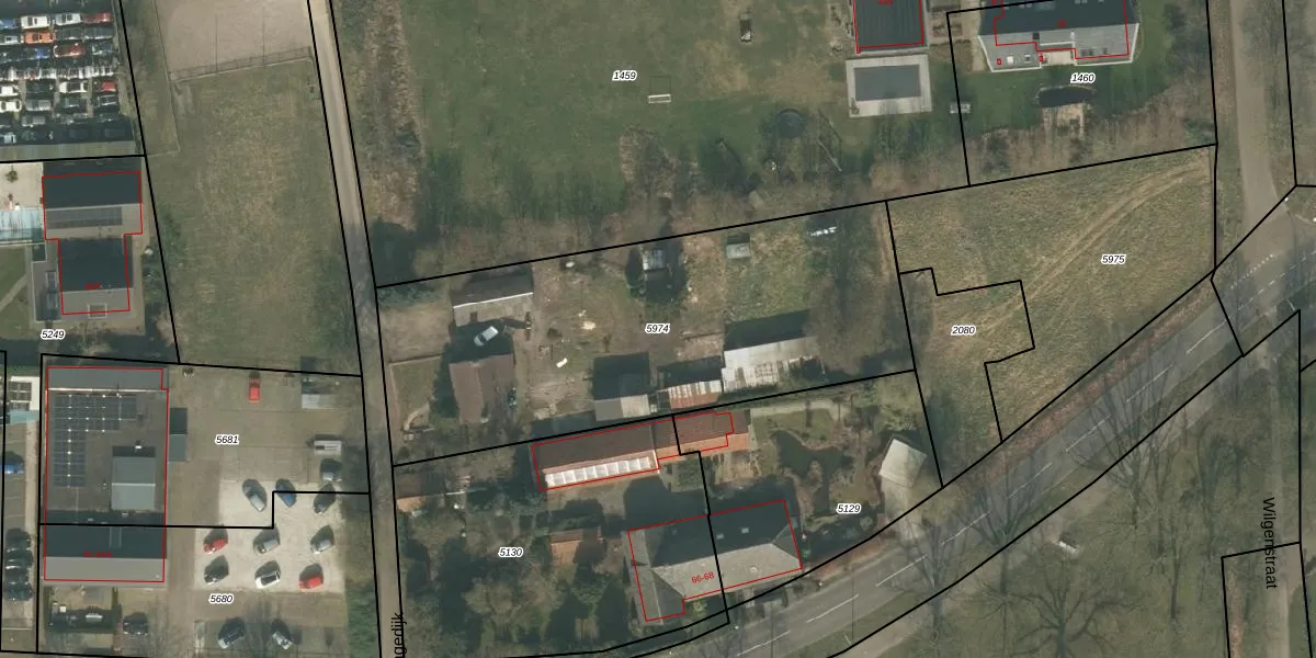
Perceel: UDN00-F-5974
KadastraleKaart.com kan meer dan je denktOntdek meer ›
Filter op bestemming 50+ datasets Eigendomsdata in één klik Percelen CRM
2.120 m2 - 213 m
Eigenaar opvragen
UDN00-F-5974 (Uden)
- 5408 RG
3Iqkyrn0xFaHPLiAjOATJRZW ubTI5Upgrade naar KadastraleKaart Pro
Bekijk op Street View
Download DWG/DXF/Excel
Dr6mwpfv683 P QmCXSiUpgrade naar KadastraleKaart Pro
dtGnItVL8G uUpgrade naar KadastraleKaart Pro
bacy32AKtHUpgrade naar KadastraleKaart Pro
w4Ll Z1 iqC M5Upgrade naar KadastraleKaart Pro
05mRBkWhVgUpgrade naar KadastraleKaart Pro
XycLOjE7ihea dMsvNo8Upgrade naar KadastraleKaart Pro
Z9NXcAVgUpgrade naar KadastraleKaart Pro
5X N hAqvCUpgrade naar KadastraleKaart Pro
53qmySwNepssbG9HLkoUpgrade naar KadastraleKaart Pro
9nM xDctD5skHb 65OjUpgrade naar KadastraleKaart Pro
24/01/2025

Percelen
Gebruik de zoekbalk of klik op een perceel om informatie over het perceel te bekijken.