
Oude Hoevenweg 55-a is gelegen in de plaats Vriezenveen, de gemeente Twenterand en de provincie Overijssel. Het object heeft een oppervlakte van 205 m², wat relatief groot is. Het perceel waarop het adres ligt is 1890 m² groot. De oppervlakte van het adres is klein vergeleken met de andere objecten in de straat. De oppervlakte van het kleinste object in de straat bedraagt 54 m², terwijl het grootste object 2609 m² groot is. Het pand waarin Oude Hoevenweg 55-a ligt is gebouwd in het jaar 2023. Panden die gebouwd zijn na het jaar 1984 noemen we hier relatief nieuw. Het gemiddelde bouwjaar in de straat is 1961 en dat van het oudste pand is 1901. Dit is het nieuwste object in de straat. Voor het verblijfsobject gelden deze gebruiksdoelen: 'woonfunctie'.
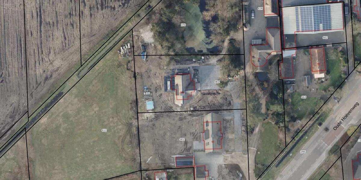
Het adres is gelegen op perceel 901 in de sectie I en de kadastrale gemeente Vriezenveen. De kadastrale aanduiding is aldus VZV00-I-901. De gemiddelde perceelgrootte in Vriezenveen is 5659,73 m². Dit perceel is kleiner: de perceeloppervlakte bedraagt 1890 m². Het kleinste perceel in de kadastrale gemeente is 0 m² groot. De grootste perceeloppervlakte is 2,84 km². Dit is het enige adres dat aanwezig is op het perceel. De laatste wijziging in het de Basisregistratie Kadaster (BRK) was op 23-01-2023.
Er is geen energielabel geregistreerd voor het adres. Het hoogste energielabel in de straat is A++; het laagste is G. Het gemiddelde energielabel is er C. Het adres Oude Hoevenweg 55-a heeft als status: 'verblijfsobject in gebruik'. Het pand waarin dit adres ligt heeft als status: 'pand in gebruik'.
Oude Hoevenweg 55-a is een adres gelegen in de gemeente Twenterand, provincie Overijssel. Dit adres is geregistreerd in de Basisregistratie Adressen en Gebouwen (BAG) met als unieke identificatie 1700010000042395.
Het pand op Oude Hoevenweg 55-a is gebouwd in 2023, wat betekent dat het 3 jaar oud is. Dit is een vrij nieuw pand. Het pand is dus waarschijnlijk goed geïsoleerd, geluidsdicht en voldoet aan de huidige bouwstandaarden. Op korte termijn zijn er waarschijnlijk weinig onderhoudskosten.
De woning op Oude Hoevenweg 55-a heeft een gebruiksoppervlakte van 205 m². Dit is ruim vergeleken met de gemiddelde Nederlandse woning, die een oppervlakte heeft van ongeveer 119 m². De gebruiksoppervlakte is de maat die wordt gebruikt in de BAG-registratie, de landelijke registratie van de Nederlandse overheid.
Oude Hoevenweg 55-a heeft als functie: wonen. Deze gebruiksfunctie(s) zijn vastgelegd in de BAG-registratie en geven aan waarvoor het adres officieel mag worden gebruikt.
Oude Hoevenweg 55-a is gelegen op kadastraal perceel VZV00I901. Deze kadastrale aanduiding is uniek en wordt gebruikt door het Kadaster om eigendomsrechten en andere zakelijke rechten vast te leggen. Het perceel maakt onderdeel uit van de kadastrale gemeente Vriezenveen.
Het perceel waarop Oude Hoevenweg 55-a staat heeft een oppervlakte van 1890 m². Dit is een zeer groot perceel. De perceeloppervlakte wordt geregistreerd door het Kadaster. Gedetailleerde informatie over de maten van dit perceel kunt u vinden in het rapport Kadastrale kaart met maatvoering van Oude Hoevenweg 55-a.
De eigenaar van Oude Hoevenweg 55-a is op te vragen op deze pagina.
De informatie over dit adres is afkomstig uit officiële overheidsregistraties, voornamelijk de Basisregistratie Adressen en Gebouwen (BAG) en de Basisregistratie Kadaster (BRK). Deze gegevens worden beheerd door respectievelijk gemeenten en het Kadaster, en worden regelmatig bijgewerkt. Energielabelgegevens komen uit de database van de Rijksdienst voor Ondernemend Nederland (RVO).
