
Princenweg 44 is een adres in Weert, dat zich bevindt binnen de gemeentegrenzen van Weert en de grenzen van de provincie Limburg. De oppervlakte van het verblijfsobject is met 156 m² aan de grote kant. Het perceel heeft een oppervlakte van 1147 m². Het object is klein ten opzichte van de andere adressen in de straat. Het grootste verblijfsobject is 5936 m² groot en het kleinste is 18 m². Het gebouw waarin Princenweg 44 ligt komt uit het jaar 1961. Objecten die gebouwd zijn vóór 1965 classificeren we hier als oud. Het nieuwste gebouw in de straat komt uit 2026 en het oudste uit 1844. Dit object is relatief oud. Het verblijfsobject heeft de volgende gebruiksdoelen: 'woonfunctie'.
Deze woning is voor het laatst verkocht op 1 januari 2008. Meer informatie over deze transactie? Bestel het Woningtransactierapport om de verkoopprijs en andere informatie te zien.
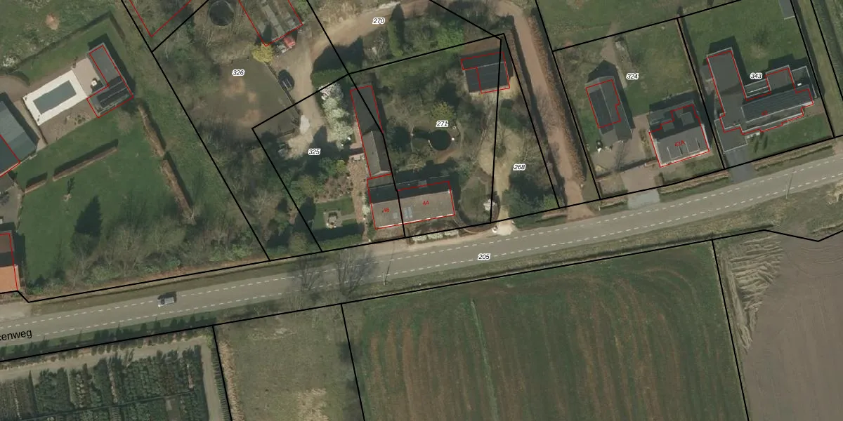
Het perceel waarop het adres ligt is WEE01-X-271. De afkorting 'WEE01' staat voor kadastrale gemeente Weert. Het perceel is kleiner dan gemiddeld in Weert. Het perceel is 1147 m² groot, terwijl het gemiddelde ligt op 3764,43 m². Het kleinste perceel in de kadastrale gemeente is 0 m² groot. De grootste perceeloppervlakte is 3,08 km². Op het perceel bevinden zich geen andere adressen. De huidige grenzen van het perceel zijn digitaal in de Basisregistratie Kadaster (BRK) geregistreerd op 12-04-2011.
Het adres ligt in een gebouw van het type 'twee-onder-één-kap'. Bij de laatste meting is voor het adres het energielabel C geregistreerd. Het hoogste energielabel in de straat is A; het laagste is G. Het gemiddelde energielabel is er D. Het adres Princenweg 44 heeft als status: 'verblijfsobject in gebruik'. Het pand waarin dit adres ligt heeft als status: 'pand in gebruik'.
Princenweg 44 is een adres gelegen in de gemeente Weert, provincie Limburg. Dit adres is geregistreerd in de Basisregistratie Adressen en Gebouwen (BAG) met als unieke identificatie 0988010000010115.
Het pand op Princenweg 44 is gebouwd in 1961, wat betekent dat het 65 jaar oud is. Dit is een ouder pand. Het pand heeft mogelijk aanzienlijke renovaties nodig om aan de huidige standaarden te voldoen.
De woning op Princenweg 44 heeft een gebruiksoppervlakte van 156 m². Dit is ruim vergeleken met de gemiddelde Nederlandse woning, die een oppervlakte heeft van ongeveer 119 m². De gebruiksoppervlakte is de maat die wordt gebruikt in de BAG-registratie, de landelijke registratie van de Nederlandse overheid.
Princenweg 44 heeft als functie: wonen. Deze gebruiksfunctie(s) zijn vastgelegd in de BAG-registratie en geven aan waarvoor het adres officieel mag worden gebruikt.
Princenweg 44 is gelegen op kadastraal perceel WEE01X271. Deze kadastrale aanduiding is uniek en wordt gebruikt door het Kadaster om eigendomsrechten en andere zakelijke rechten vast te leggen. Het perceel maakt onderdeel uit van de kadastrale gemeente Weert.
Het perceel waarop Princenweg 44 staat heeft een oppervlakte van 1147 m². Dit is een zeer groot perceel. De perceeloppervlakte wordt geregistreerd door het Kadaster. Gedetailleerde informatie over de maten van dit perceel kunt u vinden in het rapport Kadastrale kaart met maatvoering van Princenweg 44.
De eigenaar van Princenweg 44 is op te vragen op deze pagina.
De informatie over dit adres is afkomstig uit officiële overheidsregistraties, voornamelijk de Basisregistratie Adressen en Gebouwen (BAG) en de Basisregistratie Kadaster (BRK). Deze gegevens worden beheerd door respectievelijk gemeenten en het Kadaster, en worden regelmatig bijgewerkt. Energielabelgegevens komen uit de database van de Rijksdienst voor Ondernemend Nederland (RVO).
