
Princenweg 46 is gelegen in de plaats Weert, de gemeente Weert en de provincie Limburg. De oppervlakte van het adres is 100 m². Dat is vergelijkbaar met het gemiddelde Nederlandse oppervlakte van 119 m². De oppervlakte van het perceel waarin het adres ligt is 915 m². Het object is klein ten opzichte van de andere adressen in de straat. Het grootste verblijfsobject is 5936 m² groot en het kleinste is 18 m². Het pand waarin Princenweg 46 ligt is gebouwd in het jaar 1986. Panden die gebouwd zijn na het jaar 1984 noemen we hier relatief nieuw. Dit object is relatief nieuw in de straat. Het nieuwste gebouw komt er uit het jaar 2026 en het oudste uit het jaar 1844. Het verblijfsobject heeft de volgende gebruiksdoelen: 'woonfunctie'.
Deze woning is voor het laatst verkocht op 1 januari 1997. Meer informatie over deze transactie? Bestel het Woningtransactierapport om de verkoopprijs en andere informatie te zien.
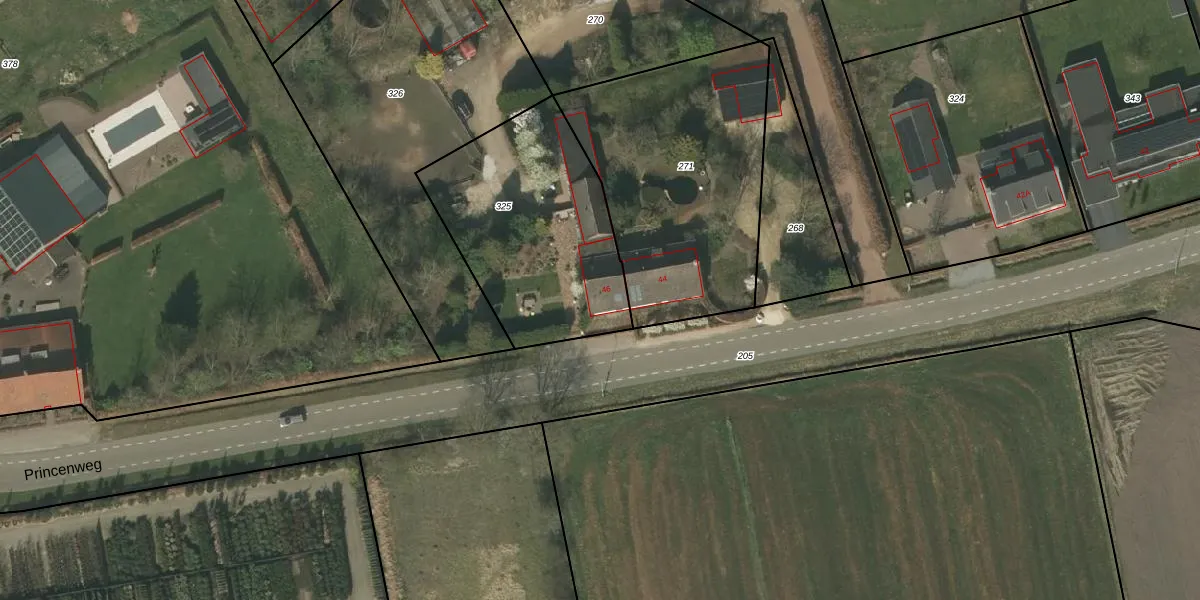
Het perceel waarop het adres ligt is WEE01-X-325. De afkorting 'WEE01' staat voor kadastrale gemeente Weert. Het perceel is kleiner dan gemiddeld in Weert. Het perceel is 915 m² groot, terwijl het gemiddelde ligt op 3764,89 m². Het kleinste perceel in de kadastrale gemeente is 0 m² groot. De grootste perceeloppervlakte is 3,08 km². Op het perceel bevinden zich geen andere adressen. De laatste wijziging in het de Basisregistratie Kadaster (BRK) was op 12-04-2011.
Er is geen energielabel geregistreerd voor het adres. Het hoogste energielabel in de straat is A; het laagste is G. Het gemiddelde energielabel is er D. Het adres Princenweg 46 heeft als status: 'verblijfsobject in gebruik'. Het pand waarin dit adres ligt heeft als status: 'pand in gebruik'.
Princenweg 46 is een adres gelegen in de gemeente Weert, provincie Limburg. Dit adres is geregistreerd in de Basisregistratie Adressen en Gebouwen (BAG) met als unieke identificatie 0988010000010116.
Het pand op Princenweg 46 is gebouwd in 1986, wat betekent dat het 40 jaar oud is. Dit is een pand van middelbare leeftijd. Het pand is van gemiddelde leeftijd en zal waarschijnlijk verouderde elementen bevatten.
De woning op Princenweg 46 heeft een gebruiksoppervlakte van 100 m². Dit is onder het gemiddelde vergeleken met de gemiddelde Nederlandse woning, die een oppervlakte heeft van ongeveer 119 m². De gebruiksoppervlakte is de maat die wordt gebruikt in de BAG-registratie, de landelijke registratie van de Nederlandse overheid.
Princenweg 46 heeft als functie: wonen. Deze gebruiksfunctie(s) zijn vastgelegd in de BAG-registratie en geven aan waarvoor het adres officieel mag worden gebruikt.
Princenweg 46 is gelegen op kadastraal perceel WEE01X325. Deze kadastrale aanduiding is uniek en wordt gebruikt door het Kadaster om eigendomsrechten en andere zakelijke rechten vast te leggen. Het perceel maakt onderdeel uit van de kadastrale gemeente Weert.
Het perceel waarop Princenweg 46 staat heeft een oppervlakte van 915 m². Dit is een groot perceel. De perceeloppervlakte wordt geregistreerd door het Kadaster. Gedetailleerde informatie over de maten van dit perceel kunt u vinden in het rapport Kadastrale kaart met maatvoering van Princenweg 46.
De eigenaar van Princenweg 46 is op te vragen op deze pagina.
De informatie over dit adres is afkomstig uit officiële overheidsregistraties, voornamelijk de Basisregistratie Adressen en Gebouwen (BAG) en de Basisregistratie Kadaster (BRK). Deze gegevens worden beheerd door respectievelijk gemeenten en het Kadaster, en worden regelmatig bijgewerkt. Energielabelgegevens komen uit de database van de Rijksdienst voor Ondernemend Nederland (RVO).
