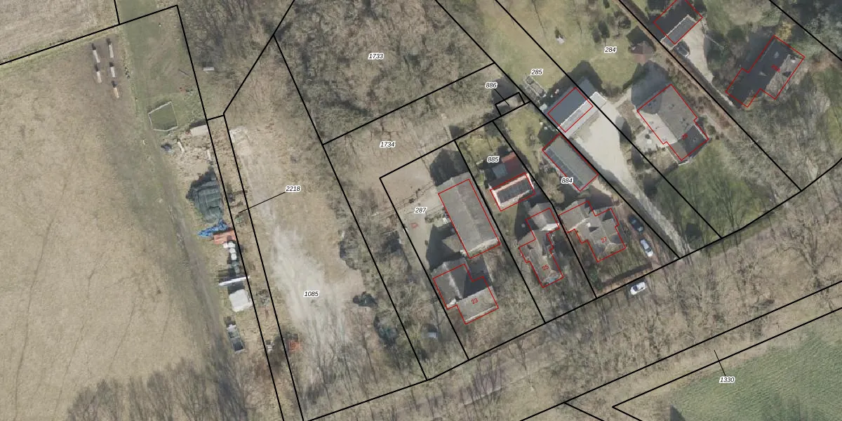
Perceel: BGR01-K-287
KadastraleKaart.com kan meer dan je denktOntdek meer ›
Filter op bestemming 50+ datasets Eigendomsdata in één klik Percelen CRM
970 m2 - 137 m
Eigenaar opvragen
BGR01-K-287 (Borger)
- 9527 TB
t iJnJlmGIrY1LOzH t6Upgrade naar KadastraleKaart Pro
Bekijk op Street View
Download DWG/DXF/Excel
CtIh2XPviUpgrade naar KadastraleKaart Pro
7rwL8uMPw5 0Upgrade naar KadastraleKaart Pro
jQ0xO9s0WUpgrade naar KadastraleKaart Pro
wNFyrh8112X t wYXa mRUpgrade naar KadastraleKaart Pro
aiFyX6DN jNL iUpgrade naar KadastraleKaart Pro
tgwvTQut3asUpgrade naar KadastraleKaart Pro
TyCHssPtGKzUpgrade naar KadastraleKaart Pro
R m0lUv Upgrade naar KadastraleKaart Pro
Len 8QqLjATYmLT4Upgrade naar KadastraleKaart Pro
Bpa DfV2tmuz1CY0X0dZKWXUpgrade naar KadastraleKaart Pro
09/01/2002

Percelen
Gebruik de zoekbalk of klik op een perceel om informatie over het perceel te bekijken.