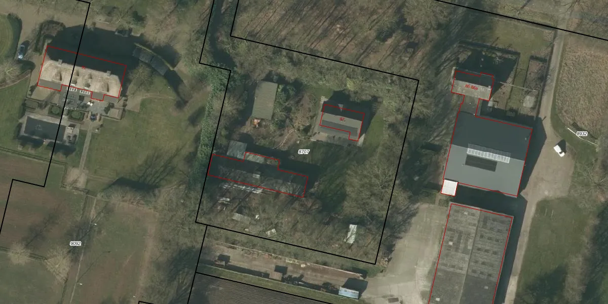
Perceel: DNE00-H-8707
KadastraleKaart.com kan meer dan je denktOntdek meer ›
Filter op bestemming 50+ datasets Eigendomsdata in één klik Percelen CRM
4.135 m2 - 322 m
Eigenaar opvragen
DNE00-H-8707 (Deurne)
- 5759 PB
0 pRoJiVNgJO0OF5BuTuIbyVhqUpgrade naar KadastraleKaart Pro
Bekijk op Street View
Download DWG/DXF/Excel
GUoCwGyhA5aMsgl3sbKswdUpgrade naar KadastraleKaart Pro
oRbg0PHYLsUpgrade naar KadastraleKaart Pro
vCv1 E XUpgrade naar KadastraleKaart Pro
EjXh9r2o6YYrDyp yClUpgrade naar KadastraleKaart Pro
Y8J g2O 26HJDrUpgrade naar KadastraleKaart Pro
gma9Fd2VsWrB99edUpgrade naar KadastraleKaart Pro
LffbZ7nJQdhb4Upgrade naar KadastraleKaart Pro
0iNlDlYpGCG8aUpgrade naar KadastraleKaart Pro
7KT5bph sP QtUpgrade naar KadastraleKaart Pro
BP8e 94 UkL0D x YUpgrade naar KadastraleKaart Pro
03/04/2008

Percelen
Gebruik de zoekbalk of klik op een perceel om informatie over het perceel te bekijken.