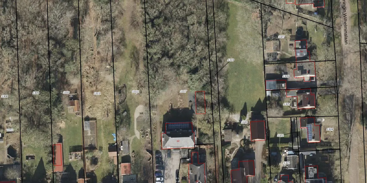
Perceel: RDE00-V-1317
KadastraleKaart.com kan meer dan je denktOntdek meer ›
Filter op bestemming 50+ datasets Eigendomsdata in één klik Percelen CRM
3.748 m2 - 350 m
Eigenaar opvragen
RDE00-V-1317 (Rolde)
- 9451 AC
phQ CrIDR0u5DY PGxfW Cy gaUpgrade naar KadastraleKaart Pro
Bekijk op Street View
Download DWG/DXF/Excel
9cEVPx8rmLNjYXvaUpgrade naar KadastraleKaart Pro
xruKIQ8 y5eknxYDzx7fYFsUpgrade naar KadastraleKaart Pro
Ob ngd7 aUYS0qKfk5rjRLfUpgrade naar KadastraleKaart Pro
vukY9DdqHp3tAyf QG G9Upgrade naar KadastraleKaart Pro
eq u4DW0DJf4zflUpgrade naar KadastraleKaart Pro
GS0PpEeBZpGl8Upgrade naar KadastraleKaart Pro
TgiAUxpg TazT8WUpgrade naar KadastraleKaart Pro
IBU6PGDwFuUpgrade naar KadastraleKaart Pro
qJvapLt8Ooj7P Upgrade naar KadastraleKaart Pro
OC3pPMVT7ckd hZpF Upgrade naar KadastraleKaart Pro
27/03/2001

Percelen
Gebruik de zoekbalk of klik op een perceel om informatie over het perceel te bekijken.