
Industrieweg 11-TRAF is een adres in Halsteren, dat zich bevindt binnen de gemeentegrenzen van Halsteren en de grenzen van de provincie Noord-Brabant. De oppervlakte van het object bedraagt 9 m². Dat is klein vergeleken met het Nederlandse gemiddelde. Het perceel waarop het adres ligt is 2734 m² groot. Het adres is klein vergeleken met andere objecten in de straat. Het grootste object in de straat heeft een oppervlakte van 1524 m², het kleinste is 7 m² groot. Industrieweg 11-TRAF ligt in een gebouw uit het jaar 1985. Daarmee behoort het tot de groep panden van na 1984, die we als relatief nieuw bestempelen. In de straat komt het nieuwste gebouw uit het jaar 2025 en het oudste uit 1965. Het bouwjaar van dit object is relatief oud. Voor het verblijfsobject gelden deze gebruiksdoelen: 'overige gebruiksfunctie'.
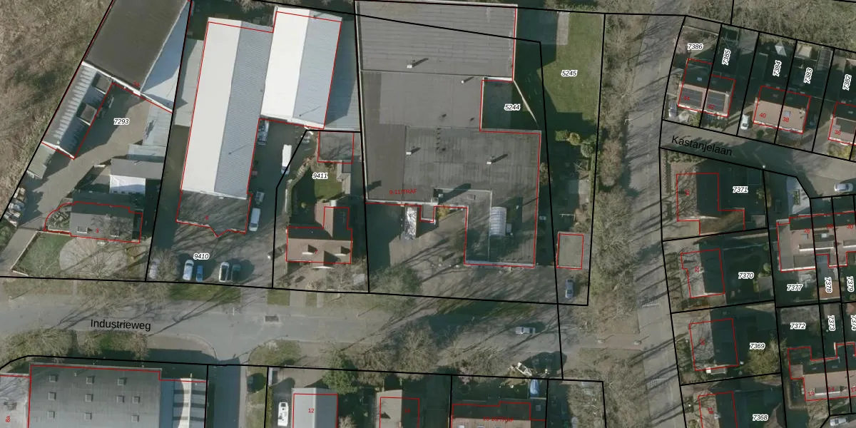
Het adres ligt op het perceel HSR00-C-5244, dat zich in de kadastrale gemeente Halsteren bevindt. De gemiddelde perceelgrootte in Halsteren is 3438,38 m². Dit perceel is kleiner: de perceeloppervlakte bedraagt 2734 m². Het grootste perceel in de kadastrale gemeente is 96,6 ha. Het kleinste perceel heeft een oppervlakte van 0 m². Op het perceel zijn 3 adressen aanwezig. De huidige grenzen van het perceel zijn digitaal in de Basisregistratie Kadaster (BRK) geregistreerd op 29-08-2016.
Er is geen energielabel geregistreerd voor het adres. Het hoogste energielabel in de straat is A+++; het laagste is G. Het gemiddelde energielabel is er A+. Het adres Industrieweg 11-TRAF heeft als status: 'verblijfsobject in gebruik'. Het pand waarin dit adres ligt heeft als status: 'pand in gebruik'.
Industrieweg 11-TRAF is een adres gelegen in de gemeente Bergen op Zoom, provincie Noord-Brabant. Dit adres is geregistreerd in de Basisregistratie Adressen en Gebouwen (BAG) met als unieke identificatie 0748010000032417.
Het pand op Industrieweg 11-TRAF is gebouwd in 1985, wat betekent dat het 41 jaar oud is. Dit is een pand van middelbare leeftijd. Het pand is van gemiddelde leeftijd en zal waarschijnlijk verouderde elementen bevatten.
De woning op Industrieweg 11-TRAF heeft een gebruiksoppervlakte van 9 m². Dit is relatief klein vergeleken met de gemiddelde Nederlandse woning, die een oppervlakte heeft van ongeveer 119 m². De gebruiksoppervlakte is de maat die wordt gebruikt in de BAG-registratie, de landelijke registratie van de Nederlandse overheid.
Industrieweg 11-TRAF heeft als functie: overige doeleinden. Deze gebruiksfunctie(s) zijn vastgelegd in de BAG-registratie en geven aan waarvoor het adres officieel mag worden gebruikt.
Industrieweg 11-TRAF is gelegen op kadastraal perceel HSR00C5244. Deze kadastrale aanduiding is uniek en wordt gebruikt door het Kadaster om eigendomsrechten en andere zakelijke rechten vast te leggen. Het perceel maakt onderdeel uit van de kadastrale gemeente Halsteren.
Het perceel waarop Industrieweg 11-TRAF staat heeft een oppervlakte van 2734 m². Dit is een zeer groot perceel. De perceeloppervlakte wordt geregistreerd door het Kadaster. Gedetailleerde informatie over de maten van dit perceel kunt u vinden in het rapport Kadastrale kaart met maatvoering van Industrieweg 11-TRAF.
De eigenaar van Industrieweg 11-TRAF is op te vragen op deze pagina.
De informatie over dit adres is afkomstig uit officiële overheidsregistraties, voornamelijk de Basisregistratie Adressen en Gebouwen (BAG) en de Basisregistratie Kadaster (BRK). Deze gegevens worden beheerd door respectievelijk gemeenten en het Kadaster, en worden regelmatig bijgewerkt. Energielabelgegevens komen uit de database van de Rijksdienst voor Ondernemend Nederland (RVO).
